EasyManua.ls Logo

Canon GP160F - Jam Detection; Overview; VI. Jam Detection

Canon GP160F
797 pages
Print Icon
To Next Page IconTo Next Page
To Next Page IconTo Next Page
To Previous Page IconTo Previous Page
To Previous Page IconTo Previous Page
Loading...
COPYRIGHT
©
1999 CANON INC. CANON GP160 REV.0 FEB. 1999 PRINTED IN JAPAN (IMPRIME AU JAPON)
CHAPTER 10 CASSETTE FEEDER
10-8
VI. JAM DETECTION
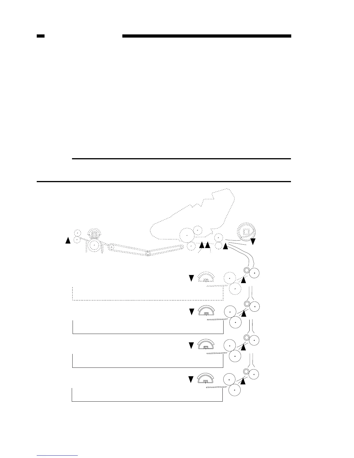
A. Overview
The cassette feeder is equipped with a pick-up sensor (PS651), which monitors the
pick-up and feeding function. It is also equipped with a paper supply sensor, which
detects the presence or absence of paper.
According to a pre-programmed timing, the feeder controller PCB’s CPU (IC601)
performs checks to determine whether there is paper or not in the sensor area, as well
as checks for jams. When the sensor judges there is a jam, the main unit’s motor and
the feeder motor are immediately turned OFF, and a jam message is displayed on the
control panel.
Reference:
For more information regarding jam sensor timing after the main unit’s registration
sensor, please refer to the main unit’s service manual.
Figure 10-601
PS501
PS303
PS305
PS302
PS301
PS304
PS**
PS651
PS652
PS651
PS652
PS651
PS652
PS651: Pick-up sensor PS652: Paper sensor PS302: Registration sensor

Table of Contents

Other manuals for Canon GP160F

Related product manuals