EasyManua.ls Logo

Caple INCH - General Safety and Usage

Caple INCH
8 pages
Print Icon
To Next Page IconTo Next Page
To Next Page IconTo Next Page
To Previous Page IconTo Previous Page
To Previous Page IconTo Previous Page
Loading...
J131
5
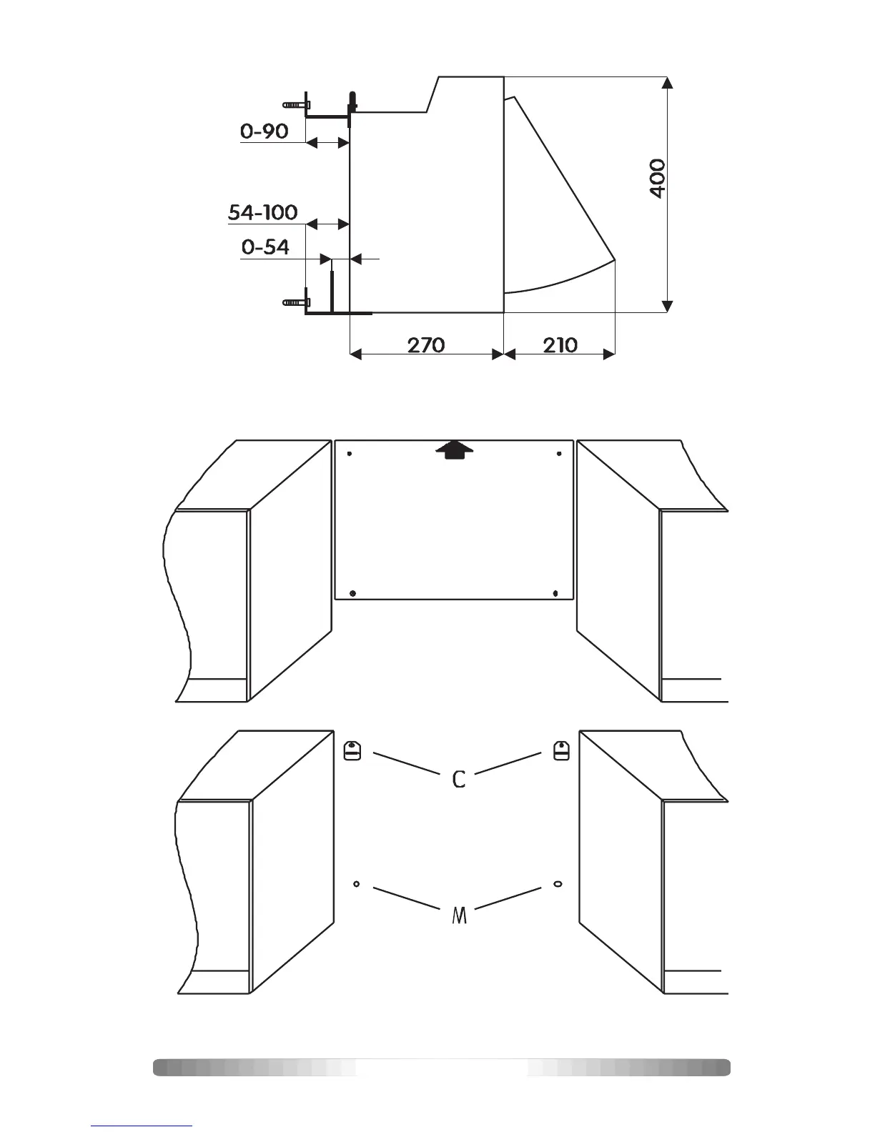
Fig. 3
Fig. 2

Other manuals for Caple INCH

Related product manuals