EasyManua.ls Logo

Carrier 33CS - Page 5

Carrier 33CS
12 pages
Print Icon
To Next Page IconTo Next Page
To Next Page IconTo Next Page
To Previous Page IconTo Previous Page
To Previous Page IconTo Previous Page
Loading...
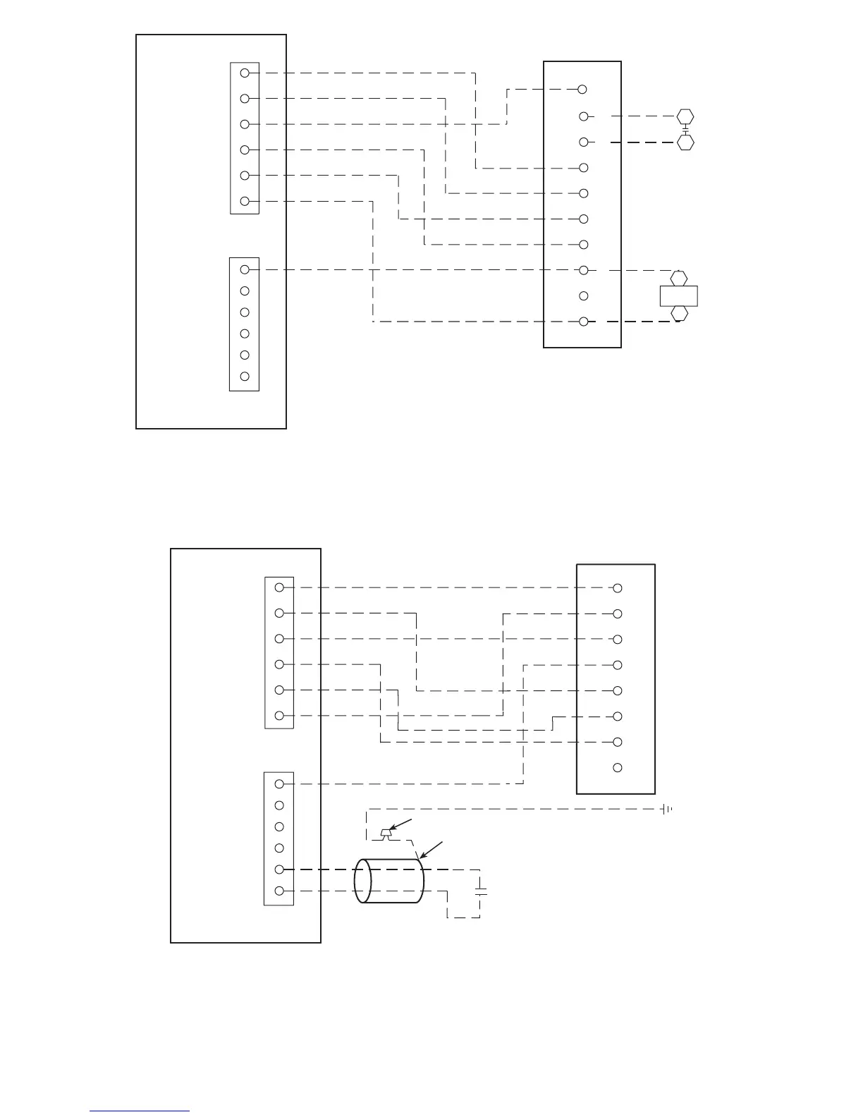
FIELD
RELAY
C2
C1
2
4
O/W2
Y1
R
G
Y/Y2
W/W1
C
B
L
S1
S2
COMMERCIAL
THERMOSTAT
RC
RH
W1
W2
Y1
Y2
G
C
X
11
FIELD RELAY
DO NOT USE
TB2
NOTES:
1. Field Relay P/N HN61KK224.
2. Set DIP switch A to OFF. Set DIP switch B to ON.
Fig. 4 Thermostat Wiring (50HJQ014,016)
O/W2
Y1
R
G
Y/Y2
W/W1
C
B
L
S1
S2
COMMERCIAL
THERMOSTAT
W1
W2
Y1
Y2
G
C
X
DO NOT USE
R
TB3
UNIT
GROUND
WIRE NUT
REMOTE
ROOM
SENSOR
(P/N ZONECC0RRS01)
SHIELD (CUT AND
TAPE BACK)
Fig. 5 Thermostat Wiring (48/50EJ,EK,EW,EY024-068 and 50EJQ,EWQ024,028)
50HJQ014,016
48EJ,EK,EW,EY024-068
50EJ,EK,EW,EY024-068
NOTES:
1. Set DIP switch A to OFF. Set DIP switch B to ON.
2. Emergency heat not available on heat pump units.
5

Other manuals for Carrier 33CS

Related product manuals