EasyManua.ls Logo

Carrier 40TGV0361UP - Wired Remote Controller; 4-1.Display Section

Carrier 40TGV0361UP
52 pages
Print Icon
To Next Page IconTo Next Page
To Next Page IconTo Next Page
To Previous Page IconTo Previous Page
To Previous Page IconTo Previous Page
Loading...
– 13 –
26-EN25-EN
4
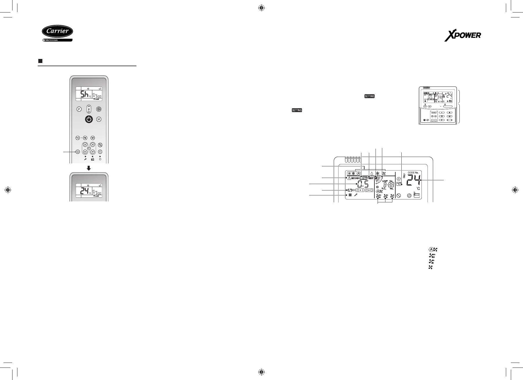
Wired remote controller
This remote controller can control the operation of up to 8 indoor units.
4-1. Display section
In the display illustration below all the icons are shown. When the unit is in operation,
only relevant icons will be displayed.
When the leak breaker is turned on for the first time, flashes on the display
part of the remote controller.
While this icon is flashing, the model is being automatically confirmed.
Wait till icon has disappeared to use the remote controller.
1 Operation mode
The selected operation mode is displayed.
2 Error display
Displayed while the protective device works or a error
occurs.
3 SETTING display
Displayed during setup of the timer or other settings.
4 TEST run display
Displayed during a test run.
5 Timer display
When an error occurs, error code is displayed.
6 Timer mode display
The selected timer mode is displayed.
7 Louver position display
Displays louver position.
8 Swing display
Displayed during up / down movement of the louver.
9
Filter display
Reminder to clean the air filter.
10
Fan speed display
The selected fan speed mode is displayed.
11
Set temperature display
The selected set temperature is displayed.
12
Power saving mode display
Limits compressor speed (capacity) to save energy.
SET
TIME
TIMER SET
TEST
FILTER
RESET
TEMP.
CL
FAN
SAVE
SWING/FIX
VENT
MODE
ON / OFF
UNIT LOUVER
Display
section
Operation
section
1
6
2
5
9
10
4
12
3
11
(Auto)
(High)
(Med.)
(Low)
87
Sleep timer operation
To start the sleep timer (OFF timer) operation.
1 Press the SLEEP button.
Select 1, 3, 5 or 9 hours for the OFF timer
operation.
1
PRESET
MODE
FAN
ON OFF
SWING
CHK
FILTER CLOCK
FIX HI-POWER
CLR
SLEEP
SET
1115350277.indd 14 9/27/2018 8:57:12 AM

Related product manuals