EasyManua.ls Logo

Carrier 58CTA - Page 18

Carrier 58CTA
56 pages
Print Icon
To Next Page IconTo Next Page
To Next Page IconTo Next Page
To Previous Page IconTo Previous Page
To Previous Page IconTo Previous Page
Loading...
18
A02075
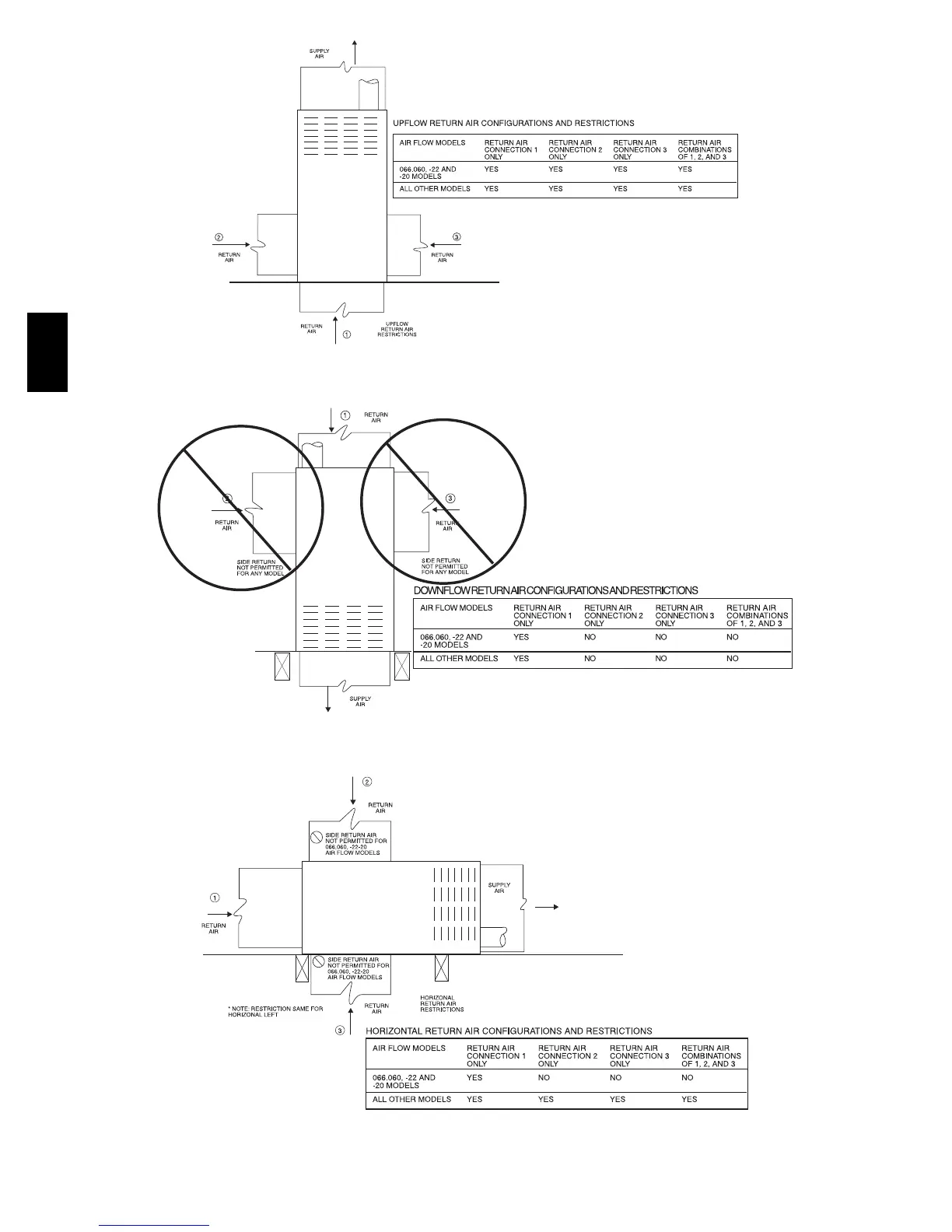
Fig. 18 -- Upflow Return Air Configurations and Restrictions
A02163
Fig. 19 -- Downflow Return Air Configurations and Restrictions
A02162
Fig. 20 -- Horizontal Return Air Configurations and Restrictions
58CT

Other manuals for Carrier 58CTA

Related product manuals