EasyManua.ls Logo

Casio fx9750G - Page 248

Casio fx9750G
441 pages
Print Icon
To Next Page IconTo Next Page
To Next Page IconTo Next Page
To Previous Page IconTo Previous Page
To Previous Page IconTo Previous Page
Loading...
266
uu
uu
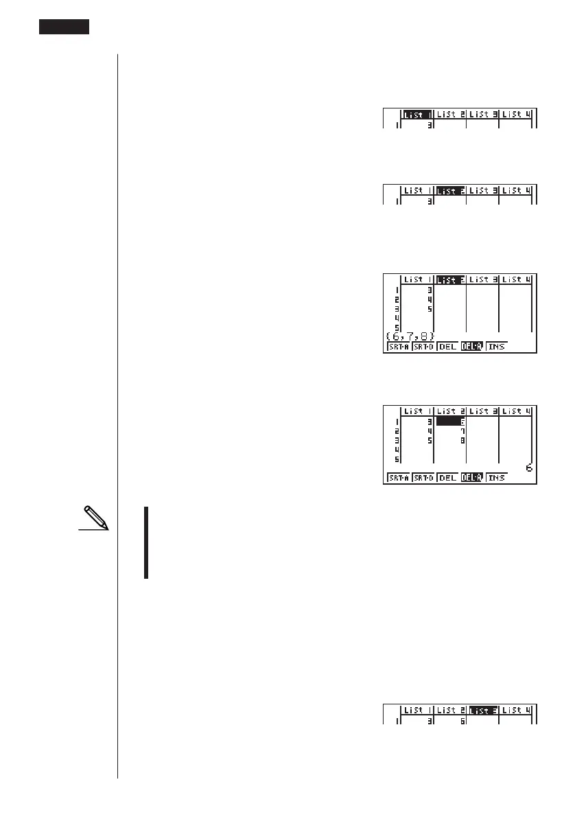
uTo batch input a series of values
1. Use f to move the cursor to the list name.
ffff
2. Use d or e to move the cursor to another list.
e
3. Press !{, and then input the values you want, pressing , between each
one. Press !} after inputting the final value.
!{g,h,i!}
4. Press w to store all of the values in your list.
w
Remember that a comma separates values, so you should not input a comma
after the final value of the set you are inputting.
Right: {34, 53, 78}
Wrong: {34, 53, 78,}
You can also use list names inside of a mathematical expression to input values into
another cell. The following example shows how to add the values in each row in List
1 and List 2, and input the result into List 3.
1. Use d, e, f, and c to move the cursor to the name of the list where you
want the calculation results to be input.
fe
17 - 1 List Operations

Table of Contents

Related product manuals