EasyManua.ls Logo

Casio fx9750G - Page 252

Casio fx9750G
441 pages
Print Icon
To Next Page IconTo Next Page
To Next Page IconTo Next Page
To Previous Page IconTo Previous Page
To Previous Page IconTo Previous Page
Loading...
270
kk
kk
k Sorting List Values
You can sort lists into either ascending order or descending order. The current cur-
sor location does not matter in the following procedures.
uu
uu
uTo sort a single list
Ascending order
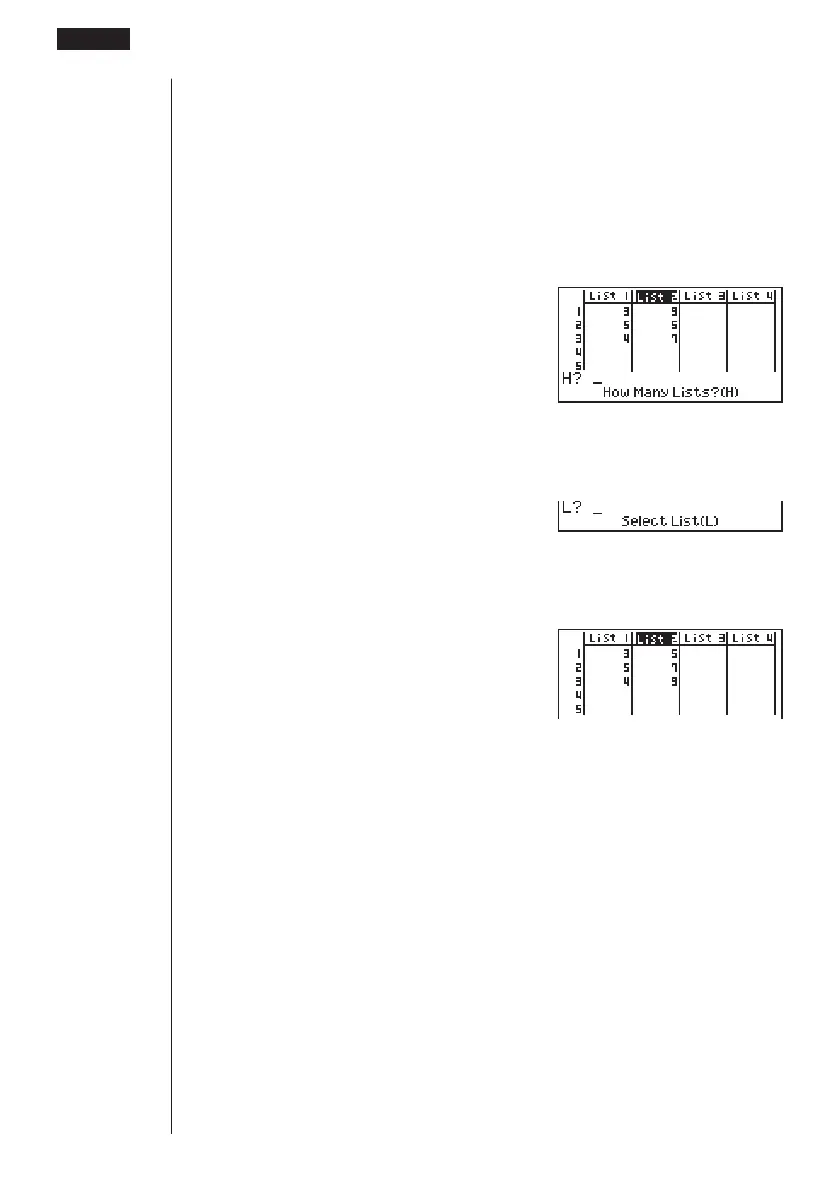
1. While the lists are on the screen, press 1 (SRT-A).
1(SRT-A)
2. The prompt “How Many Lists? (H)” appears to ask how many lists you want to
sort. Here we will input 1 to indicate we want to sort only one list.
bw
3. In response to the “Select List (L)” prompt, input the number of the list you want to
sort. Here we will input 2 to specify sorting of List 2.
cw
The values in List 2 are sorted into ascending order.
Descending order
Use the same procedure as that for the ascending order sort. The only difference is
that you should press 2 (SRT-D) in place of 1 (SRT-A).
uu
uu
uTo sort multiple lists
You can link multiple lists together for a sort so that all of their cells are rearranged in
accordance with the sorting of a base list. The base list is sorted into either ascend-
ing order or descending order, while the cells of the linked lists are arranged so that
the relative relationship of all the rows is maintained.
17 - 2 Editing and Rearranging Lists

Table of Contents

Related product manuals