EasyManua.ls Logo

Certikin COH180 - ELECTRICAL WIRING; ATTENTION; TESTING; CONTROL BOX

Default Icon
96 pages
Print Icon
To Next Page IconTo Next Page
To Next Page IconTo Next Page
To Previous Page IconTo Previous Page
To Previous Page IconTo Previous Page
Loading...
# 9"
L
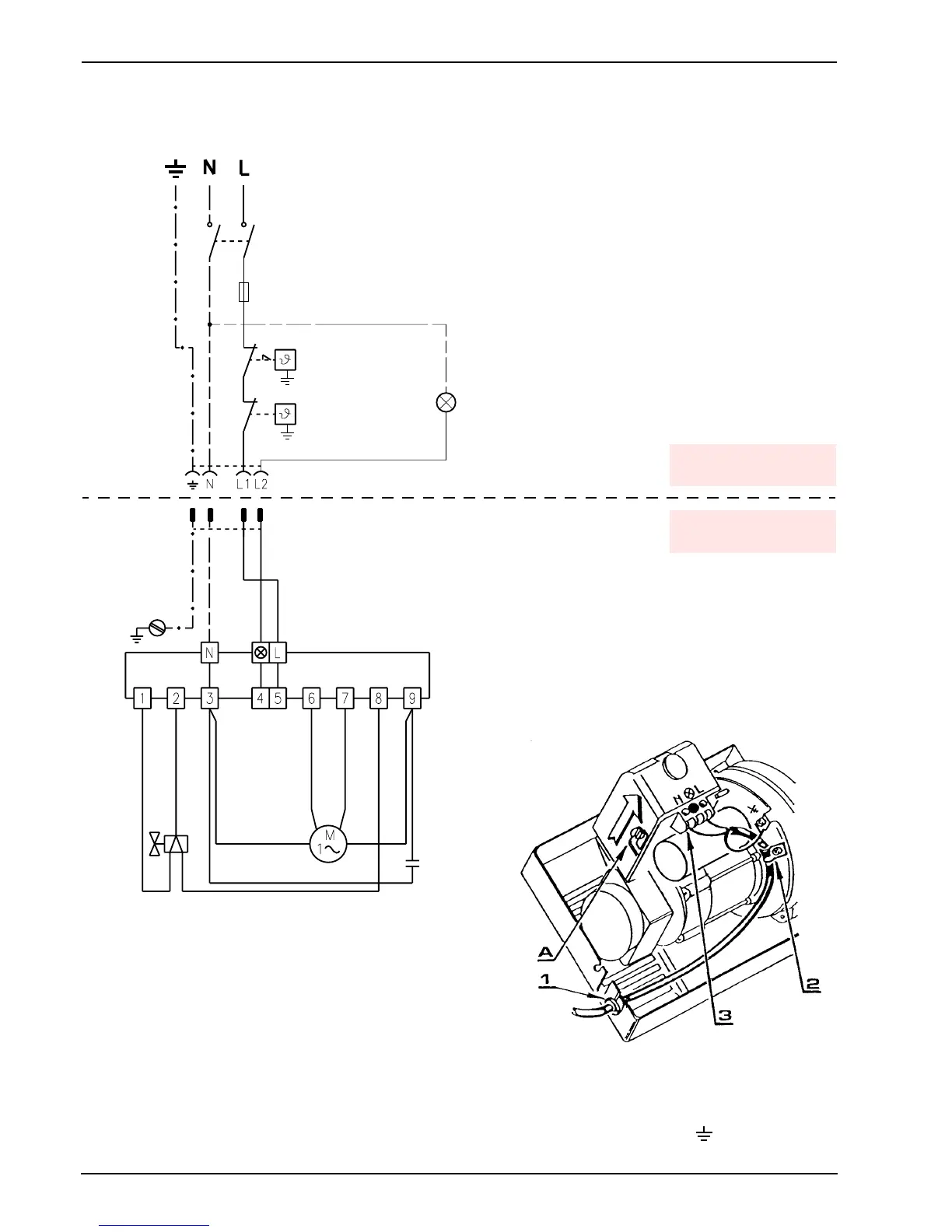
ELECTRICAL WIRING
ZK" !
RUN OF THE ELECTRICAL CABLE
1$T$ =+N,1$7,+(2 N$T$Q10*5+,
2$T$ =+N,1T4,+38 L$T$ O<+)1
3$ T$M153-(+,$N,.4? T$:05(15T1+5*<
Fig. 2
Brown
White (50V)
Blue
E.*.5
=+8+4-*.5
I-3-*$*<153.)*+*
E+-($);-*4<
T6A
Black
CONTROL BOX
To remove the control box from the burner,
loosen screw (A, fig. 2) and pull towards the
arrow.
U M<1$8<.*.51)-)*+(41$-)$@ -**12$2-514*,A$-( *.$*<1$4 .(T
*5.,$N.b$%0(215(1+*<$*<1$-7(-*-.(T*5+()@.5315&$.($+
8,07T-($)088.5*S
230V ~ 50Hz
Z+@1*A$*<153.)*+*
`13.*1$,.4?T.0*$,+38
% #"J$T$"SRa$3+bS&/$-@$51g0-512
Blue
Brown
M153-(+,$N,.4?$.@
4.(*5.,TN.b$530SE
*
J+,C1
BK H9
Black
L$8-($8,07
L$8.,1$).4?1*
ATTENTION:
Do not swap neutral and phase over, follow the diagram
shown carefully and carry out a good earth connection.
M<1$)14*-.($.@$*<1$4.(204*.5)$30)*$N1$+*$,1+)*$933jS
(Unless requested otherwise by local standards and legislation).
M<1$1,14*5-4+,$;-5-(7$4+55-12$.0*$NA$*<1$-()*+,,15$30)*$N1$-($4.3T
8,-+(41$;-*<$*<1$50,1)$-($@.541$-($*<1$4.0(*5AS
:05(15T1+5*<
TESTING
=<14?$ *<1$ )<0*T2.;($.@$*<1$N05( 15$NA$ .81(-(7
*<1$*<153.)*+*)S
TO BE DONE BY
THE INSTALLER
CARRIED-OUT
IN THE FACTORY

Other manuals for Certikin COH180

Related product manuals