EasyManua.ls Logo

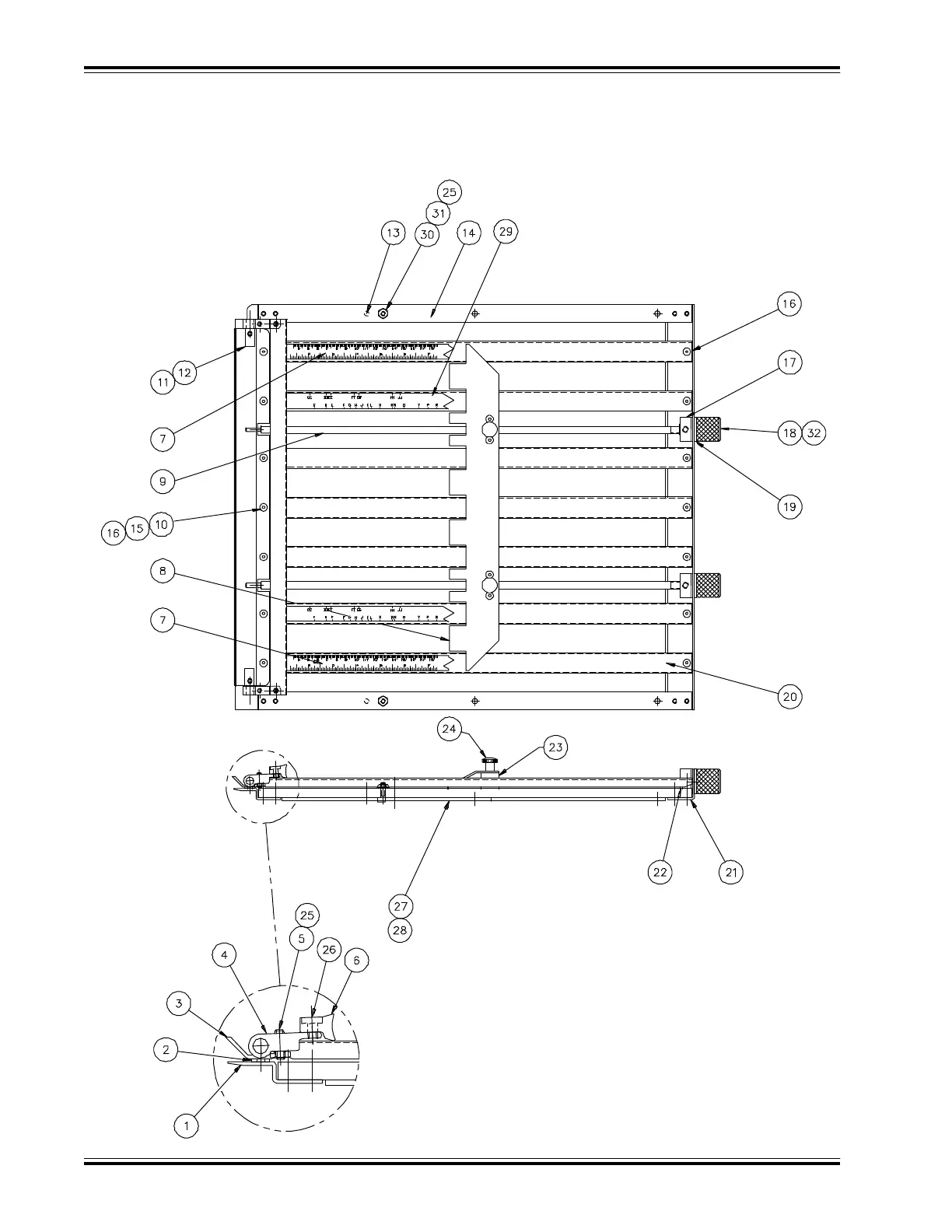
Challenge MEDALIST 820 - Foldplate Assembly #1

Challenge MEDALIST 820
80 pages
Print Icon
To Next Page IconTo Next Page
To Next Page IconTo Next Page
To Previous Page IconTo Previous Page
To Previous Page IconTo Previous Page
Loading...
F.669-D/820-870/Jan 98
40
FOLDPLATE ASSEMBLY #1
35061 REV. ‘C’

Table of Contents