EasyManua.ls Logo

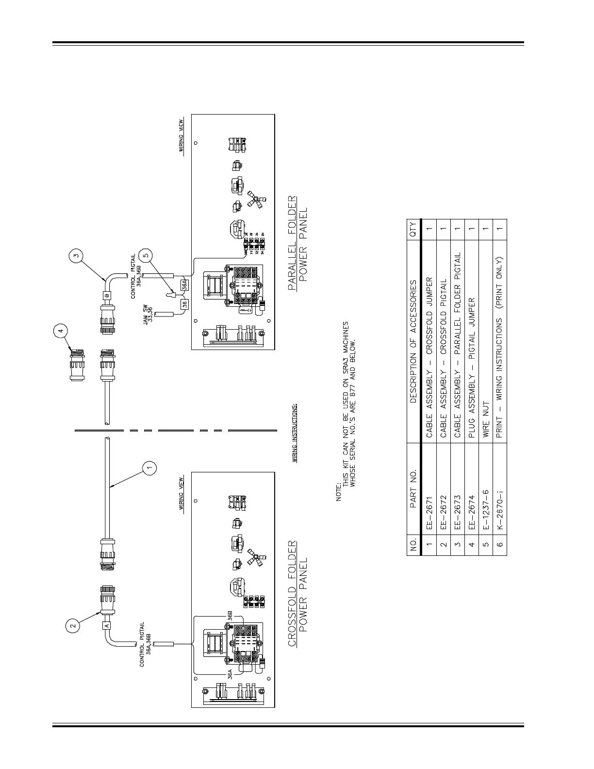
Challenge MEDALIST 820 - ELECTRICAL HOOK-UP; Crossfold Electrical Hook-Up Diagram

Challenge MEDALIST 820
80 pages
Print Icon
To Next Page IconTo Next Page
To Next Page IconTo Next Page
To Previous Page IconTo Previous Page
To Previous Page IconTo Previous Page
Loading...
F.669-D/820-870/Jan 98
72
CROSSFOLD ELECTRICAL HOOK-UP
K-2670-i

Table of Contents