EasyManua.ls Logo

Chamberlain 1265 - Attach the T-Rail to the Header Bracket

Chamberlain 1265
36 pages
Print Icon
To Next Page IconTo Next Page
To Next Page IconTo Next Page
To Previous Page IconTo Previous Page
To Previous Page IconTo Previous Page
Loading...
Clevis Pin
5/16"x2-3/4"
Ring Fastener
11
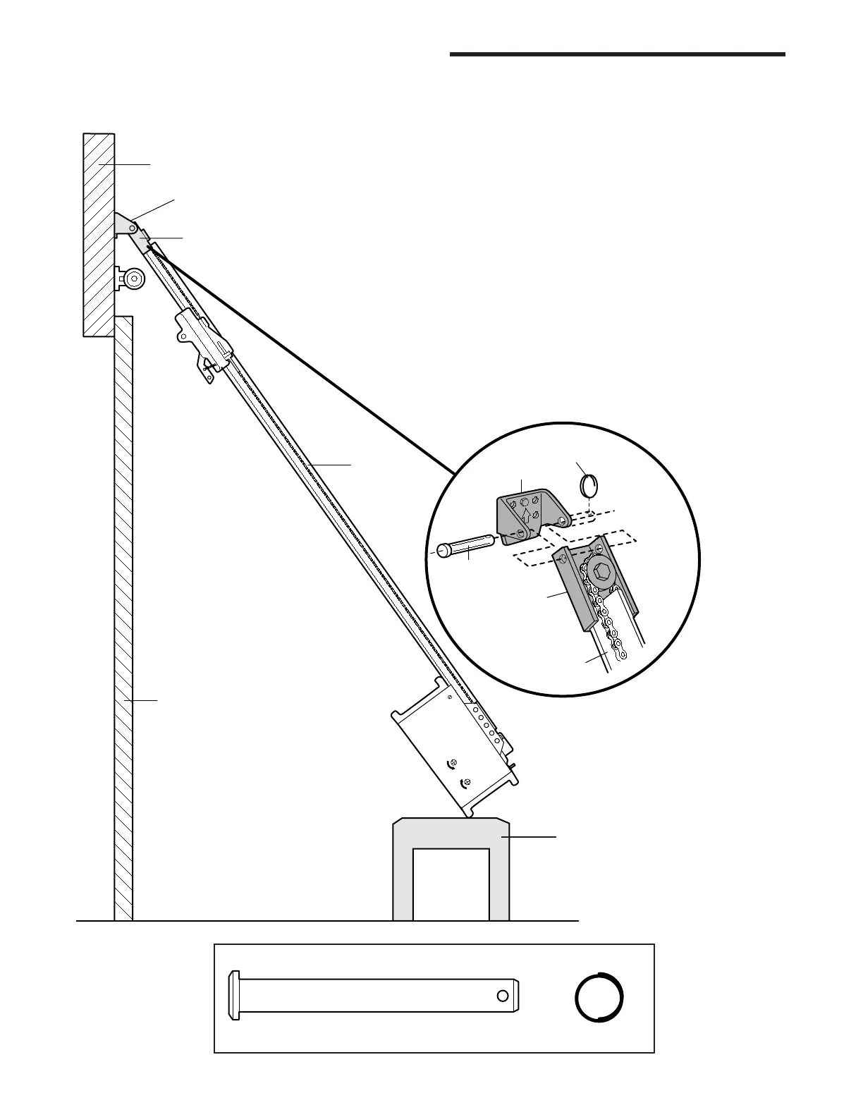
INSTALLATION STEP 3
Attach the T-Rail to the Header
Bracket
• Position the opener on the garage floor below the
header bracket. Use packing material as a
protective base.
NOTE: If the door spring is in the
way you’ll need help. Have someone hold the
opener securely on a temporary support to allow
the rail to clear the spring.
• Position the rail bracket against the header
bracket.
Align the bracket holes and join with a clevis pin
as shown.
• Insert a ring fastener to secure.
Header
Bracket
Chain
Pulley
Bracket
Temporary
Support
Header Wall
Garage
Door
T-rail
INCREASE TRAVEL
DOWN
UP
Clevis Pin
5/16"x2-3/4 "
Ring Fastener
Header Bracket
Chain
Pulley
Bracket
T-rail
HARDWARE SHOWN ACTUAL SIZE

Related product manuals