EasyManua.ls Logo

Chamberlain 248739M - INSTALLATION STEP 12: Connect Door Arm to Trolley

Chamberlain 248739M
40 pages
Print Icon
To Next Page IconTo Next Page
To Next Page IconTo Next Page
To Previous Page IconTo Previous Page
To Previous Page IconTo Previous Page
Loading...
25
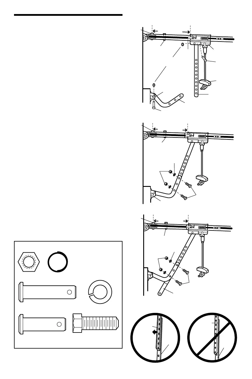
INSTALLATION STEP 12
Connect Door Arm to Trolley
Follow instructions which apply to your door type as
illustrated below and on the following page.
SECTIONAL DOORS ONLY
Make sure garage door is fully closed. Pull the
emergency release handle to disconnect the outer
trolley from the inner trolley. Slide the outer trolley back
(away from the pulley) about 8" (20 cm) as shown in
Figures 1, 2 and 3.
• Figure 1:
Fasten straight door arm section to outer trolley with
the 5/16"x1" clevis pin. Secure the connection with a
ring fastener.
Fasten curved section to the door bracket in the same
way, using the 5/16"x1-1/4" clevis pin.
IMPORTANT: The groove on the straight door arm MUST
face away from the curved door arm (Figure 4).
• Figure 2:
Bring arm sections together. Find two pairs of holes
that line up and join sections. Select holes as far apart
as possible to increase door arm rigidity.
Figure 3, Hole alignment alternative:
If holes in curved arm are above holes in straight
arm, disconnect straight arm. Cut about 6" (15 cm)
from the solid end. Reconnect to trolley with cut end
down as shown.
– Bring arm sections together.
Find two pairs of holes that line up and join with
bolts, lock washers and nuts.
Pull the emergency release handle toward the opener at
a 45° angle so that the trolley release arm is horizontal.
Proceed to Adjustment Step 1, page 27. Trolley will
re-engage automatically when opener is operated.
Straight
Door
Arm
Curved
Door
Arm
(Groove
facing out)
Straight
Door
Arm
Curved
Door
Arm
CORRECT INCORRECT
Figure 4
HARDWARE SHOWN ACTUAL SIZE
Lock Washer 5/16"
Clevis Pin
5/16"x1" (Trolley)
Clevis Pin
5/16"x1-1/4" (Door Bracket)
Hex Bolt
5/16"-18x7/8"
Nut 5/16"-18
Ring Fastener
Figure 1
Figure 2
Figure 3
Pulley
Pulley
Pulley
Trolley
Stop Bolt
Trolley
Stop Bolt
Trolley
Stop Bolt
8" (20 cm) min.
8" (20 cm) min.
8" (20 cm) min.
Outer
Trolley
Inner
Trolley
Clevis Pin
5/16"x1"
Ring
Fastener
Emergency
Release
Handle
Curved Door Arm
Door
Bracket
Straight
Door Arm
Nuts
5/16"-18
Nuts
5/16"-18
Lock
Washers
5/16"
Lock
Washers
5/16"
Bolts
5/16"-18x7/8"
Bolts
5/16"-18x7/8"
Door Bracket
Cut this end
Clevis Pin 5/16"x1-1/4"

Related product manuals