EasyManua.ls Logo

Chamberlain ATS 211 - Installation: Attach the Rail to the Header Bracket

Chamberlain ATS 211
32 pages
Print Icon
To Next Page IconTo Next Page
To Next Page IconTo Next Page
To Previous Page IconTo Previous Page
To Previous Page IconTo Previous Page
Loading...
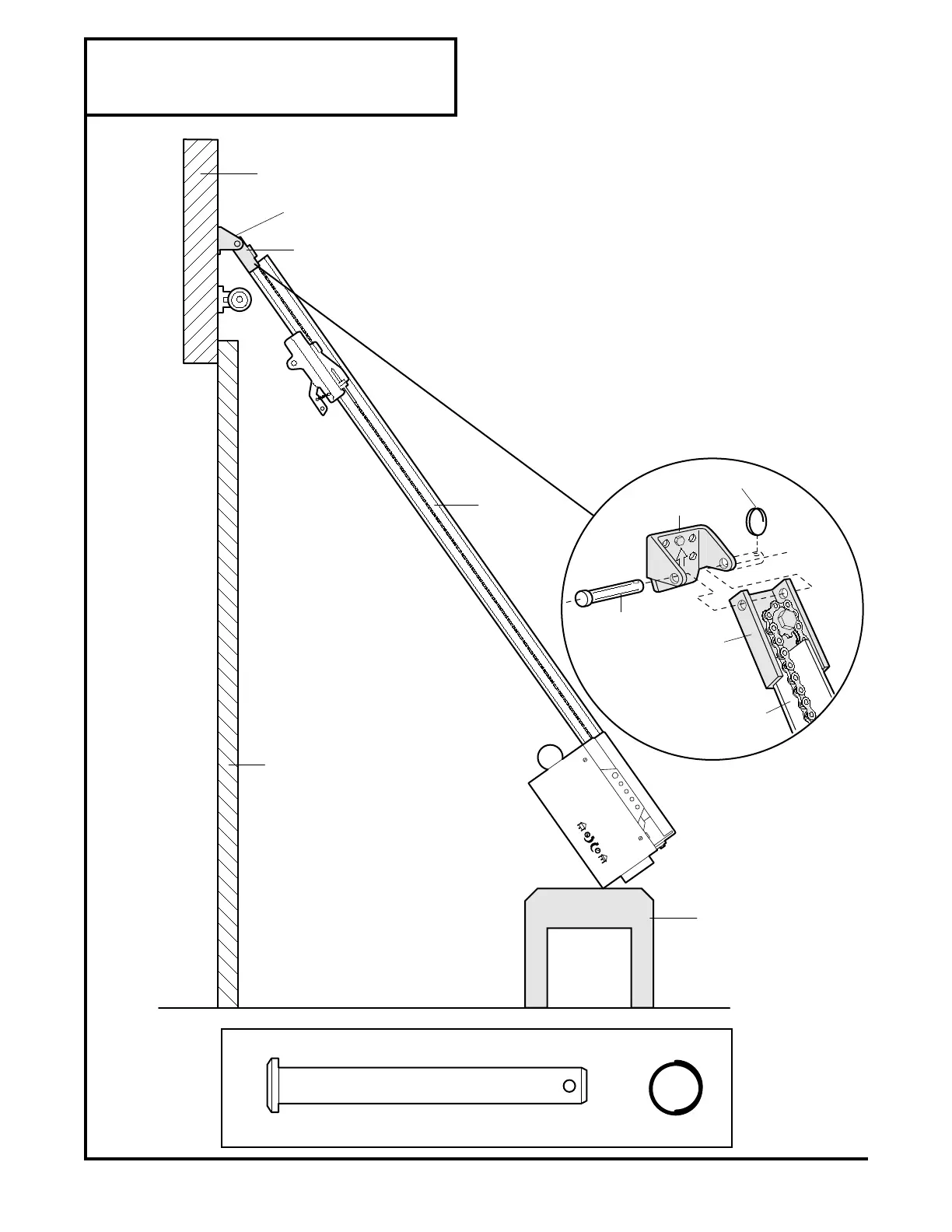
Header
Bracket
Chain
Pulley
Bracket
Temporary
Support
Header Wall
Garage
Door
Clevis Pin
5/16"x2-3/4 "
Ring Fastener
Header Bracket
Chain
Pulley
Bracket
Rail
Rail
• Position the opener on the garage floor below the
header bracket. Use packing material as a
protective base.
If the door spring is in the way you'll need help.
Have someone hold the opener securely on a
temporary support to allow the rail to clear the
spring.
• Position the chain pulley bracket against the header
bracket.
• Align the bracket holes and join with a clevis pin as
shown.
• Insert a ring fastener to secure.
10
Installation Step 3
Attach the Rail to the Header Bracket
Clevis Pin
5/16" x 2-3/4"
Ring Fastener
Hardware Shown Actual Size

Related product manuals