EasyManua.ls Logo

Chrysler Concorde - Fuse and Electrical Short Test; Rear Window Defogger Relay; System Electrical Circuit

Chrysler Concorde
1591 pages
Print Icon
To Next Page IconTo Next Page
To Next Page IconTo Next Page
To Previous Page IconTo Previous Page
To Previous Page IconTo Previous Page
Loading...
Point with the positive lead. If the voltage is not
approximately 6 volts or half the voltage measured
on the positive rear window grid bus bar, then the
grid line is bad. The break in the grid can be found
by moving the probe along the line until the voltage
changes. The area where the voltage changes is
where the open circuit is.
FUSE AND ELECTRICAL SHORT TEST
(1) Stop engine.
(2) Check the fuse supplying power to the rear
glass grid relay. If the fuse is good, then go to the
Rear Window Defogger Relay test. If the fuse is open,
then go to Step 3.
(3) Locate the ground lug that connects the nega-
tive lead of the rear window grid to ground. Remove
the screw holding the ground lug and isolate it from
any vehicle ground.
(4) Connect one lead of an ohmmeter to the nega-
tive ground lug of the rear window grid (with the lug
still not connected to a vehicle ground), and check
the resistance to a known good vehicle ground. If the
ohmmeter indicates less than 10 ohms, then the rear
window defogger grid is shorting to the vehicle
ground and must be replaced. If the ohmmeter indi-
cates more than 100 ohms of resistance, then go to
Step 6.
(5) Disconnect the rear window defogger grid volt-
age feed wire from the vehicle harness. If the ohm-
meter still indicates less than 10 ohms, then the rear
window defogger grid is shorting to the vehicle
ground and must be replaced. If the ohmmeter indi-
cates more than 100 ohms of resistance, then go to
Step 6.
(6) There is a problem with the circuits that con-
nect to the rear window defogger relay. Refer to
Group 8W, Wiring Diagrams for circuit descriptions.
Check wiring with an ohmmeter to verify proper wir-
ing connections to the rear window defogger relay. If
no problems are found, then replace the fuse and try
running the system.
REAR WINDOW DEFOGGER RELAY
(1) Stop engine. Connect the negative lead of a
0-15 volt range voltmeter to a known good vehicle
electrical ground.
(2) Reconnect rear window grid connections discon-
nected during the Fuse and Electrical Short Test.
Start engine and with the system OFF, check the
voltages present at the rear window defogger relay
and rear window defogger grid. Refer to the Rear
Window Defogger Relay Test table for diagnosis
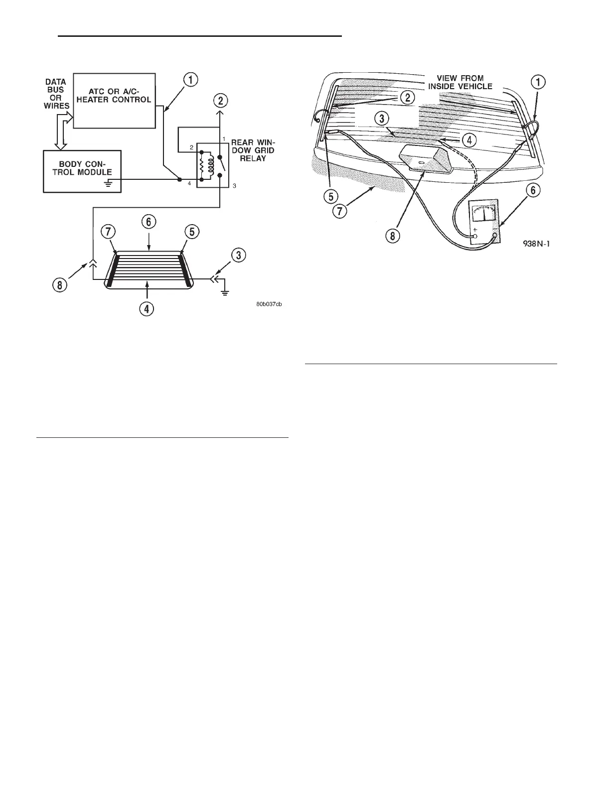
Fig. 3 System Electrical Circuit
1 BCM AND BUTTON LED RELAY CONTROL LINE (A/C-
MANUAL CONTROL ONLY)
2 VEHICLE VOLTAGE SUPPLY
3 GROUND CONNECTOR
4 REAR WINDOW GRID LINE STRUCTURE
5 POINT B
6 MIDPOINT C (TYPICAL)
7 POINT A
8 POWER CONNECTOR
Fig. 4 Grid Line Test
1 VOLTAGE FEED A
2 BUS BARS
3 REAR WINDOW DEFOGGER
4 MIDPOINT C
5 GROUND B
6 VOLTMETER
7 REAR SHELF
8 CHMSL TRIM COVER
LH ELECTRICALLY HEATED SYSTEMS 8N - 3
DIAGNOSIS AND TESTING (Continued)

Table of Contents

Related product manuals