EasyManua.ls Logo

CIAT LX - Installation and Implantation

CIAT LX
62 pages
Print Icon
To Next Page IconTo Next Page
To Next Page IconTo Next Page
To Previous Page IconTo Previous Page
To Previous Page IconTo Previous Page
Loading...
8
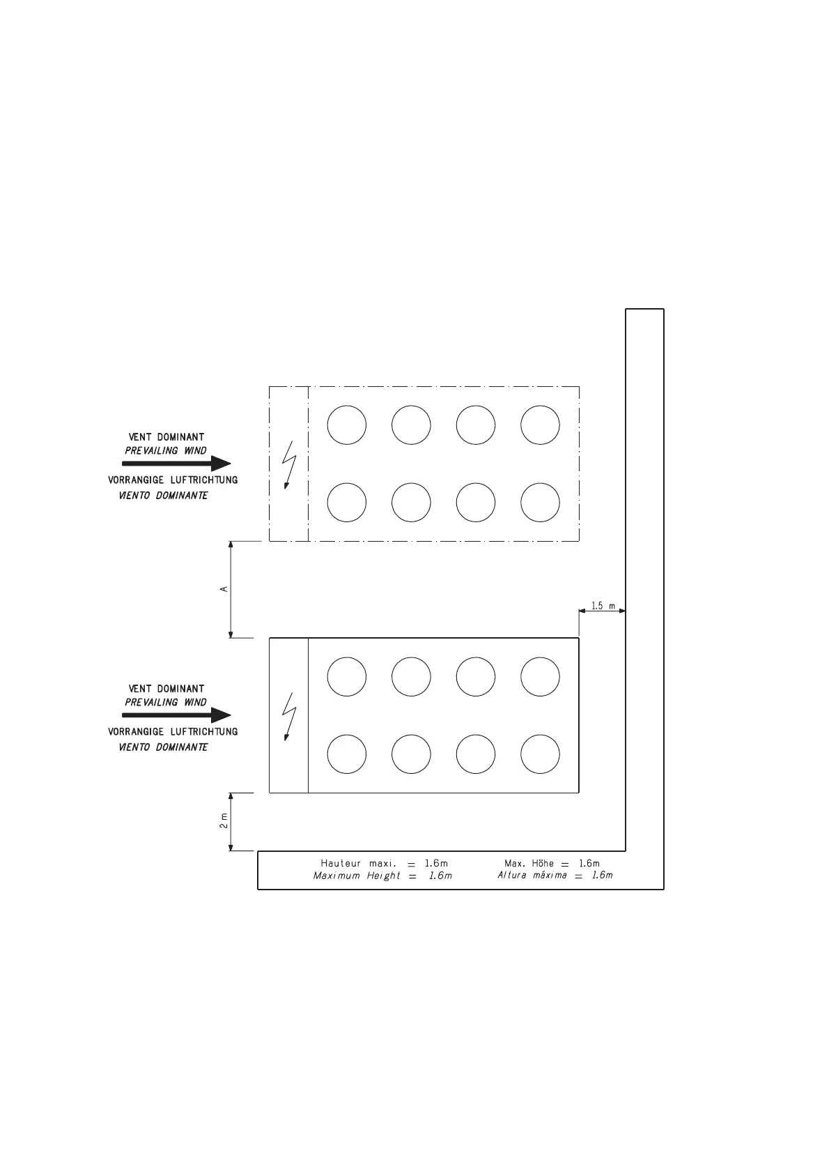
Implantation
(Dégagements à respecter)
Il est important d'installer les
groupes avec suffisamment
d'espace libre :
Pour éviter la recirculation
de l'air de refoulement du
condenseur par réaspiration.
Pour la maintenance du
groupe.
Installation
(Clearances to be observed)
It is important to install the
units with sufficient free space
:
To prevent the recirculation
of the condenser outlet air by
re-intake.
For unit maintenance.
Aufstellung
(zu beachtende Freiräume)
Um die Kaltwassersätze m
ausreichend Freiraum gelassen
werden:
Zur Verhinderung eines
Luftrückflusses der ausgeblasenen
Luft des Verflüssigers in die
Ansaugung.
Zur Wartung des Kaltwassersatzes
Instalación
(espacio libre a respetar)
Es importante instalar los grupos con
suficiente espacio libre:
Para evitar la recirculación del aire
expulsado del condensador por
reaspiración.
Para el mantenimiento del grupo.
2 appareils : A = 2,5 m
3 appareils et plus : A = 3,5 m
2 units : A = 2.5 m
3 units and more : A = 3.5 m.
2 Geräte : A= 2.5m
3 Geräte oder mehr : A= 3.5m
2 grupos: A = 2,5 m
3 grupos y más: A = 3,5 m

Related product manuals