EasyManua.ls Logo

Cirrus SR20 - Page 279

Cirrus SR20
394 pages
Print Icon
To Next Page IconTo Next Page
To Next Page IconTo Next Page
To Previous Page IconTo Previous Page
To Previous Page IconTo Previous Page
Loading...
Cirrus Design Section 7
SR20 Airplane and Systems Description
P/N 21399-004 7-95P/N 21399-004 7-95
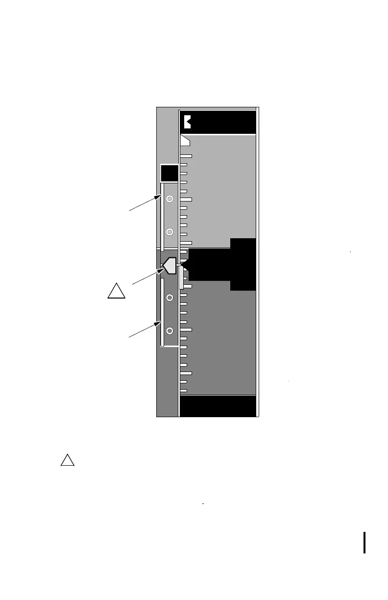
Figure 7-20
Baro-VNAV Vertical Deviation Indicator
SR20_FM02_3685
19
00
17
00
16
00
15
00
14
00
29.92
IN
35
00
18
00
V
16
60
40
LEGEND
1.Excessive Deviation
Indicator
2.Glidepath Indicator
1
2
1
1
NOTE
While Baro-VNAV is being utilized,
the Glidepath Indicator appears as
a magenta pentagon.
1
Revision A1

Table of Contents

Other manuals for Cirrus SR20

Related product manuals