EasyManua.ls Logo

Cisco 6841 - Cisco Product Security Overview; Important Online Information

Cisco 6841
222 pages
Print Icon
To Next Page IconTo Next Page
To Next Page IconTo Next Page
To Previous Page IconTo Previous Page
To Previous Page IconTo Previous Page
Loading...
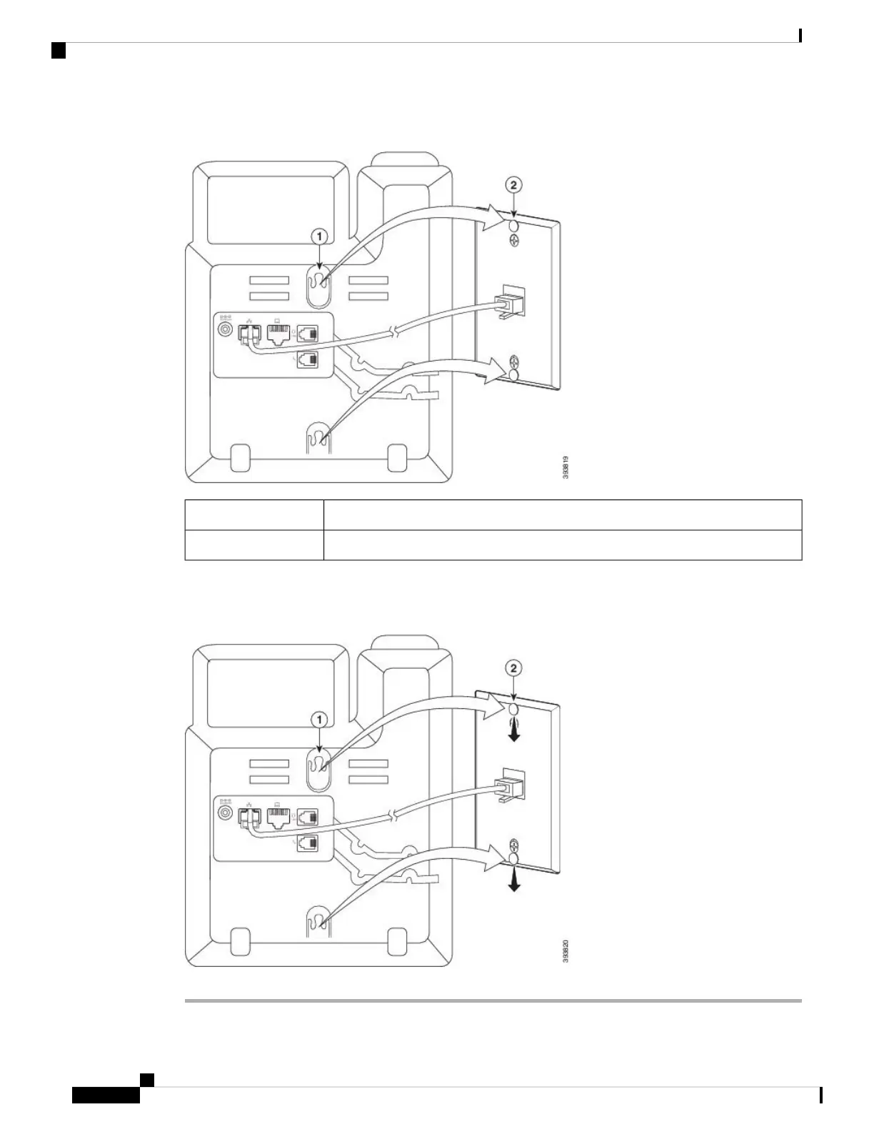
Figure 24: Mounting Holes
Mounting Hole on the Phone1
Wall Mount Pin on the Wall Mount Plate2
Step 8 Firmly slide the phone down into place as shown in the following image:
Figure 25: Sliding the IP Phone
Cisco IP Phone 6800 Series Multiplatform Phones User Guide
194
Accessories
Install the Cisco IP Phone 6821 Multiplatform Phones on a Wall

Table of Contents

Other manuals for Cisco 6841

Related product manuals