EasyManua.ls Logo

Cisco Catalyst C9500-40X - Installing a Network Module; Network Module Overview

Cisco Catalyst C9500-40X
134 pages
Print Icon
To Next Page IconTo Next Page
To Next Page IconTo Next Page
To Previous Page IconTo Previous Page
To Previous Page IconTo Previous Page
Loading...
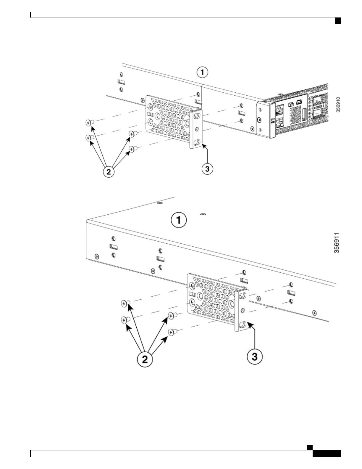
Figure 26: Front Mounting position of Rack Mounting Brackets
Figure 27: Middle Mounting position of Rack Mounting Brackets
Cisco Catalyst 9500 Series Switches Hardware Installation Guide
47
Installing a Switch
Attaching the Rack-Mount Brackets

Related product manuals