EasyManua.ls Logo

CNC4PC C10 - Functional Block Diagrams

CNC4PC C10
14 pages
Print Icon
To Next Page IconTo Next Page
To Next Page IconTo Next Page
To Previous Page IconTo Previous Page
To Previous Page IconTo Previous Page
Loading...
User’s Manual Page 6
9.0 FUNCTIONAL BLOCK DIAGRAMS
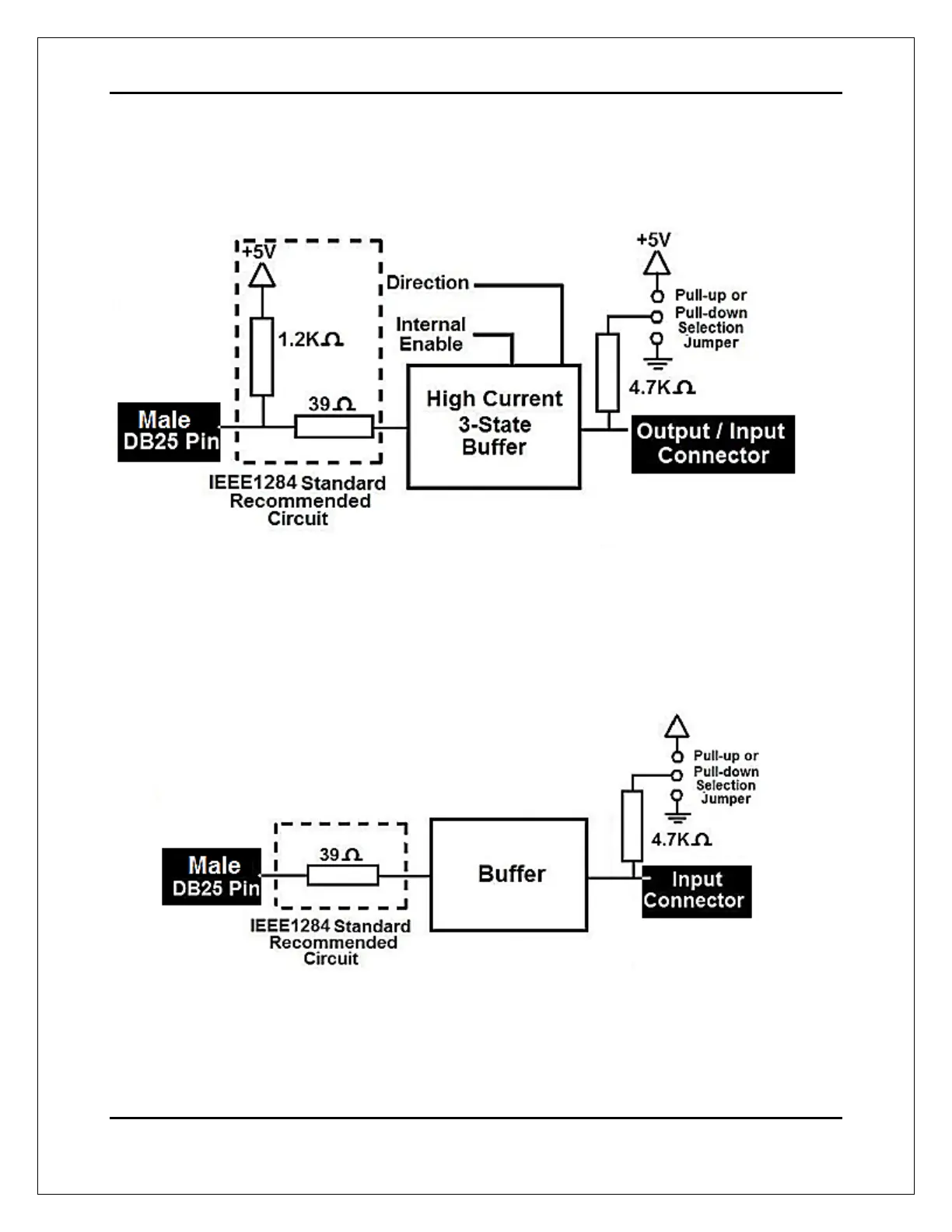
9.1 Bidirectional pins simplified block diagram
Fig. 1 Simplified functional block diagram for the 2-9 pins.
A Pull-up or Pull-down selection jumper allows selecting the configuration for the all
bidirectional pins (2-9) when they are set as inputs.
9.2 Dedicated Inputs simplified block diagram
Fig. 2 Simplified functional block diagram for the inputs.
A Pull-up or Pull-down selection jumper allows selecting the configuration for the all
dedicated inputs (pins 10, 11, 12, 13 and 15).