EasyManua.ls Logo

Comunello BORDER 400 - Page 11

Comunello BORDER 400
21 pages
Print Icon
To Next Page IconTo Next Page
To Next Page IconTo Next Page
To Previous Page IconTo Previous Page
To Previous Page IconTo Previous Page
Loading...
30
COMUNELLO ®Copyright 2021 - All rights reserved
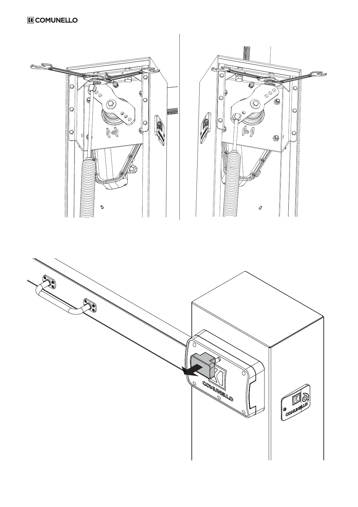
FIG. 13A FIG. 13B
Operation of the locking system:
To release the system, pull and turn the knob as shown in gures 14A and 14B.
FIG. 14A