EasyManua.ls Logo

Conel CLEAR 2.0 RD 2 - 10 Ersatzteile

Conel CLEAR 2.0 RD 2
Print Icon
To Next Page IconTo Next Page
To Next Page IconTo Next Page
To Previous Page IconTo Previous Page
To Previous Page IconTo Previous Page
Loading...
23
10
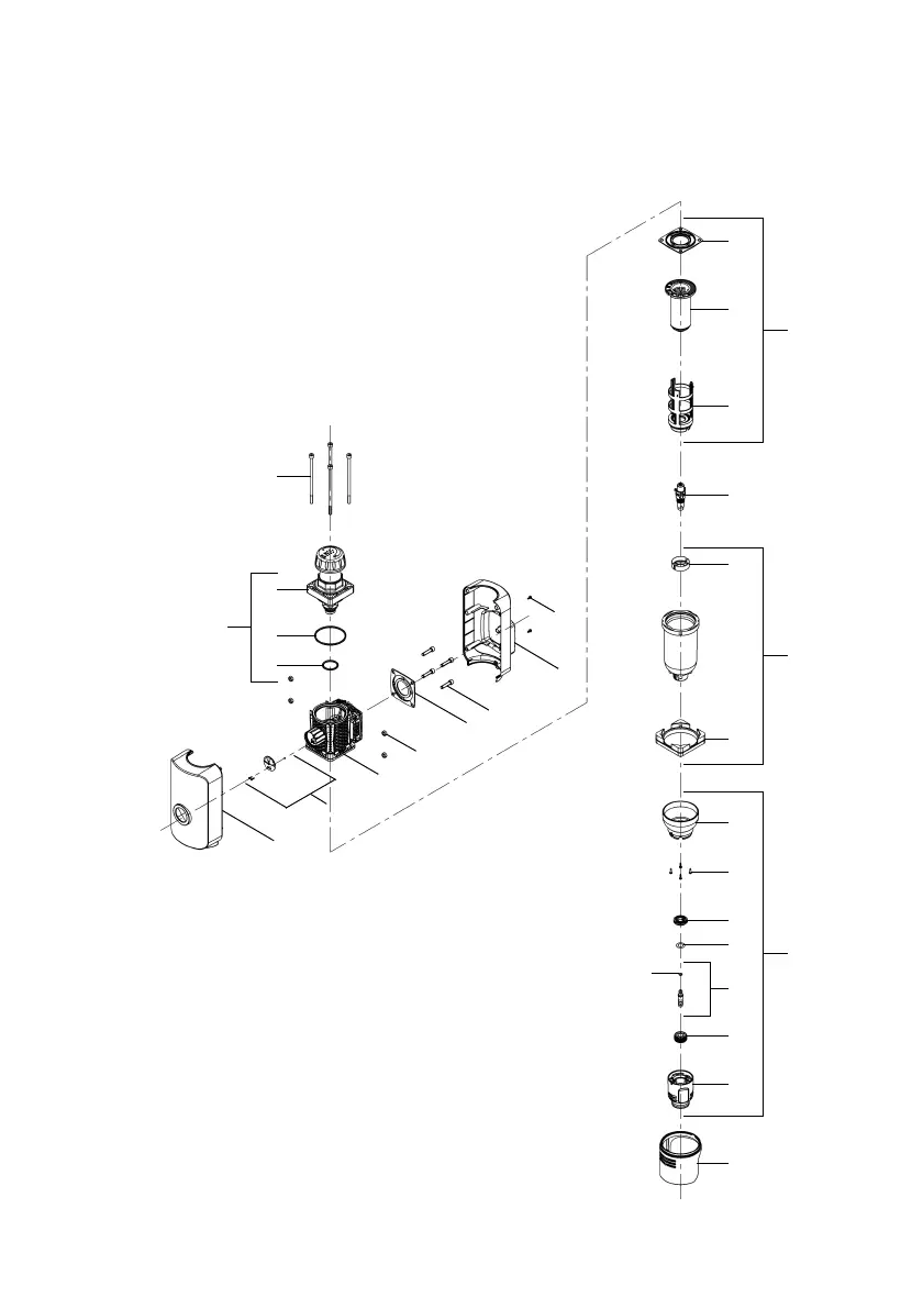
ERSATZTEILE
Abb. 8: Ersatzteile CLEAR 2.0 RD 1½" - 2"

Table of Contents

Related product manuals