EasyManua.ls Logo

Conel CLEAR 2.0 RD 2 - 10 CzęśCI Zamienne

Conel CLEAR 2.0 RD 2
Print Icon
To Next Page IconTo Next Page
To Next Page IconTo Next Page
To Previous Page IconTo Previous Page
To Previous Page IconTo Previous Page
Loading...
75
10
CZĘŚCI ZAMIENNE
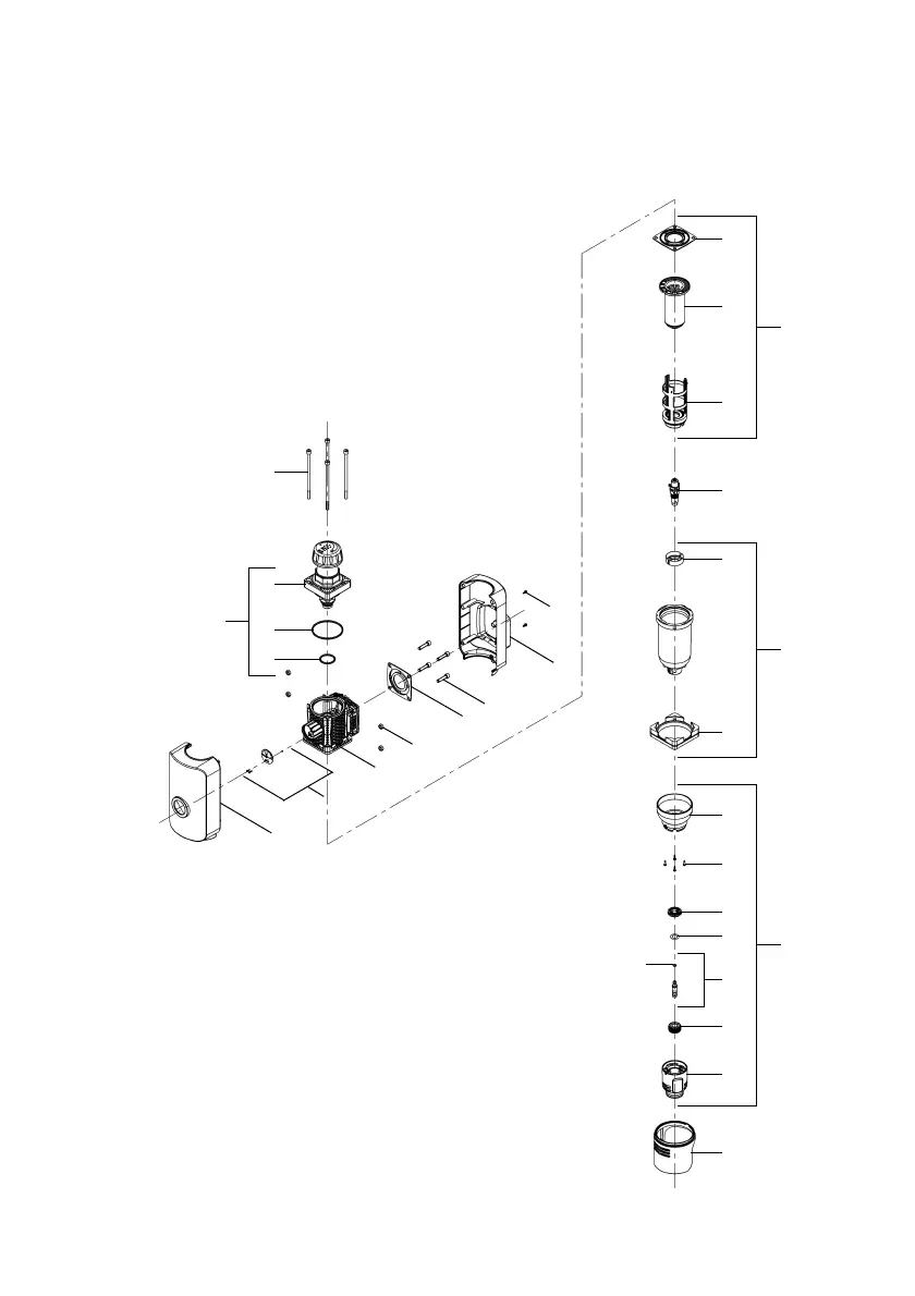
Rys. 8: Części zamienne CLEAR 2.0 RD 1½" - 2"

Table of Contents

Related product manuals