EasyManua.ls Logo

Conel CLEAR 2.0 RD 2 - 10 Spare Parts

Conel CLEAR 2.0 RD 2
Print Icon
To Next Page IconTo Next Page
To Next Page IconTo Next Page
To Previous Page IconTo Previous Page
To Previous Page IconTo Previous Page
Loading...
49
10
SPARE PARTS
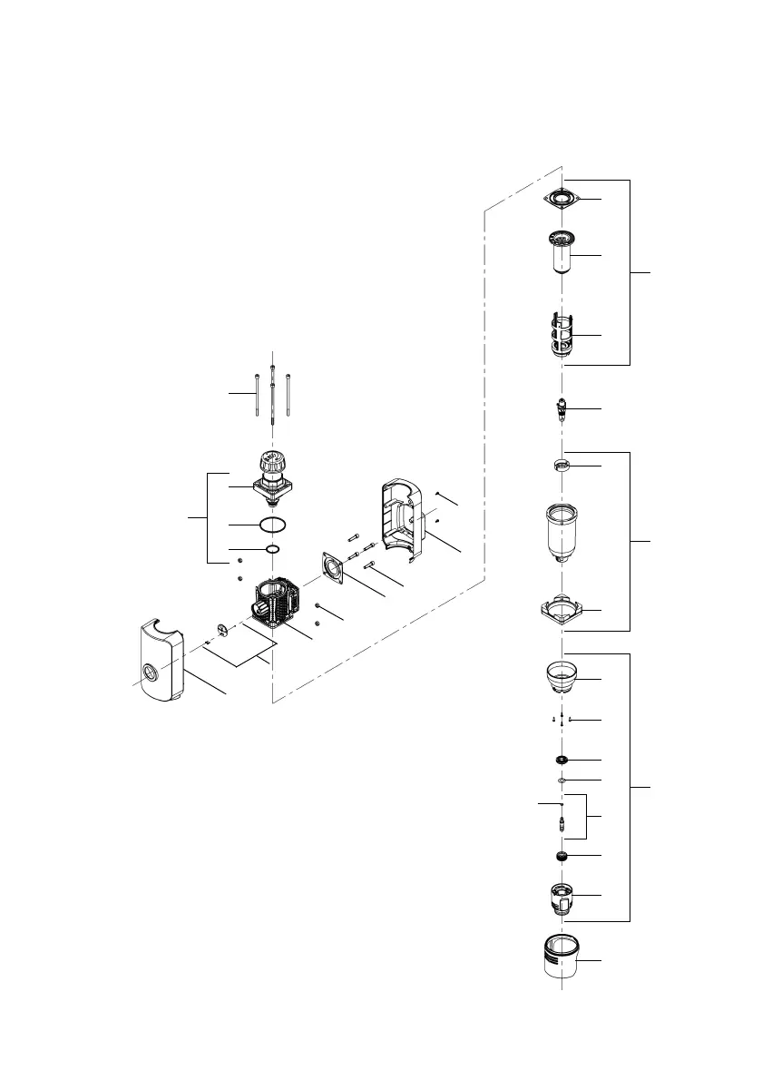
Fig. 8: Spare parts CLEAR 2.0 RD 1½" - 2"

Table of Contents

Related product manuals