EasyManua.ls Logo

Corken 891 - Page 70

Default Icon
100 pages
Print Icon
To Next Page IconTo Next Page
To Next Page IconTo Next Page
To Previous Page IconTo Previous Page
To Previous Page IconTo Previous Page
Loading...
5
1
4
2
5
8
6
3
2
Note
alignment
marks
7
9
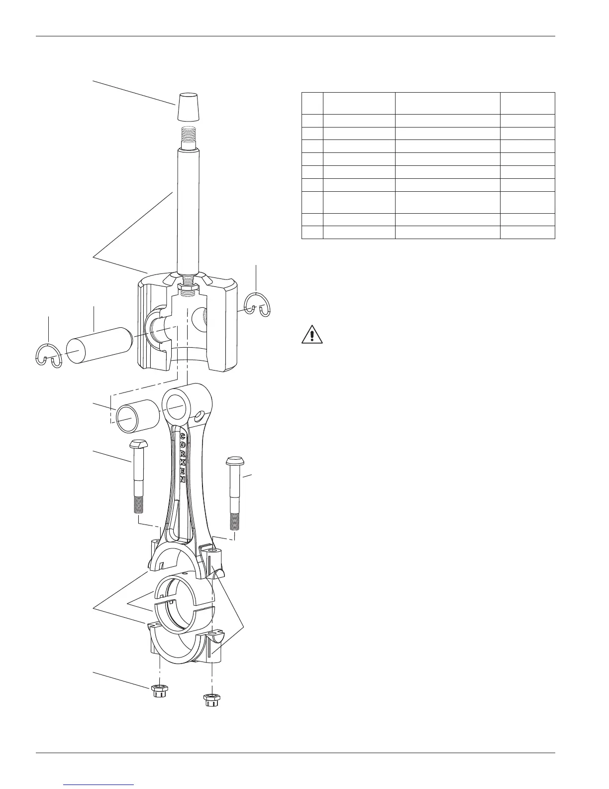
Appendix EParts Details for 291 and F291 Connecting Rod Assembly
Connecting Rod—Bill of Materials
Ref
No.
Part No. Description
Qty. per
Compressor
1. 1132-X 2 Crosshead assembly 2
2. 1498 Retainer ring 4
3. 2505 Wrist pin 2
4. 1846-X
a, b
Wrist pin bushing 2
5. 1599
b
Bolt 4
6. 1889-X Connecting rod assembly 2
7. 1367
b
Connecting rod bearing
(pair)
2
8. 1600
b, c
Nut 4
9. 4005 Packing installation cone 1
a
After the wrist pin bushing has been pressed into the connecting rod, it
must be honed to .8759/.8756. A hydraulic press and honing machine are
recommended for this step.
b
Included with connecting rod assembly.
c
Torque connecting rod nut to 28 ft. lbs.
Never attempt to separate the piston rod and crosshead. When repair
becomes necessary, the entire crosshead assembly must be replaced.
WARNING
CAUTION: Always relieve pressure in the unit before attempting
any repairs.
70

Table of Contents

Related product manuals