EasyManua.ls Logo

Cosmos 2000 - Fixings and Dimensions; Mounting Specifications

Default Icon
19 pages
Print Icon
To Next Page IconTo Next Page
To Next Page IconTo Next Page
To Previous Page IconTo Previous Page
To Previous Page IconTo Previous Page
Loading...
COSMOS
ALCOHOL
TESTE
R
COSMOS ALCOHOL TESTER TYPE 2000
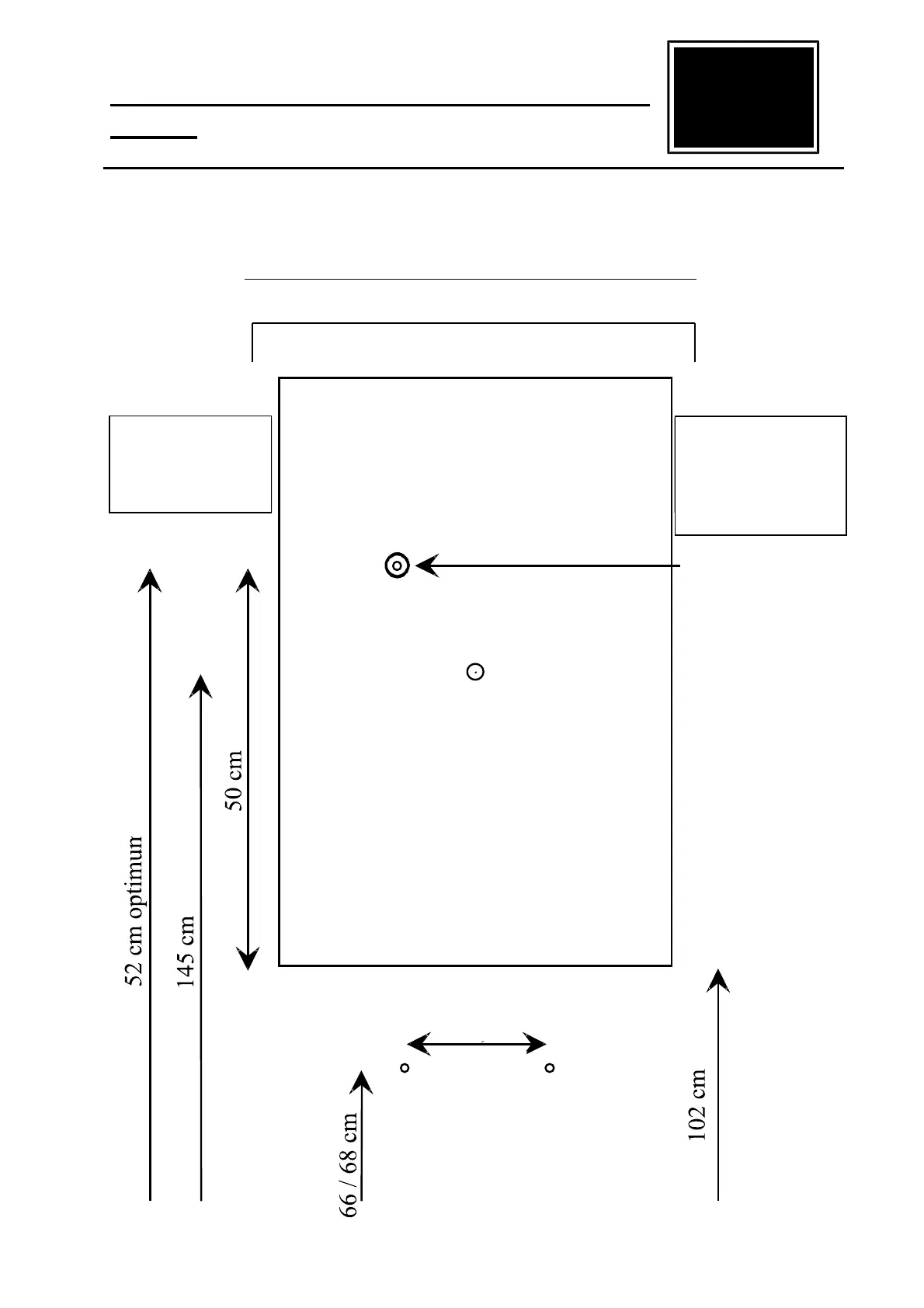
Fixings INSTRUCTIONS Page 6 / 2005-04-02 TYPE 2000
Geräte-Außenmaße BxHxT 50x75x18
Alle Angaben in cm
Machine dimensions WxHxD 50x75x18
All dimensions in cm
Ein chblasöffnung maximal 1,63 ho
Blow hole max. 1.63 high
Freiraum linke Seite
6cmlieber8cm
r Tür
F
1
reiraum rechte Seite
5 cm für Geldeinwurf
und Schlösser
F en
M reuz
ußbod
itte vom K
Einblasöffnung
16,5-
17,0
Aufhängung
Abfallkorb
6-8 cm leeway on
the left-hand side
to allow for the
doo
r
15 cm leeway on
the right-hand side
to allow for the
coin mechanism
and the door locks
Blow hole
Centre of
template
16.5 -
17.0
Fixings for
hanging the
wastebin
Floo