EasyManua.ls Logo

Crane EE-8072 - Maintenance; Cleaning and Maintenance

Crane EE-8072
11 pages
Print Icon
To Next Page IconTo Next Page
To Next Page IconTo Next Page
To Previous Page IconTo Previous Page
To Previous Page IconTo Previous Page
Loading...
6
NOTE: To activate Silent Mode press power level button until all power level indicator
lights are off. This will switch off fans but unit will continue to filter at reduced air flow
rate due to electrostatic charged collection array.
MAINTENANCE
CAUTION:
Always be sure that the appliance is unplugged and switched OFF before cleaning,
removing filters or attempting to store the item. NEVER PLUG OR UNPLUG UNIT
WITH WET HANDS.
Cleaning and Maintenance
1. The dust collection array traps the smoke and air-borne particles effectively and
should be checked and cleaned frequently. If it has not been checked for two
weeks, the indicator will light up to prompt the user to clean. To keep the unit
at its optimal performance, please clean it periodically. If the array is too dirty,
the unit will shut down automatically and flash the indicator for a warning.
2. To remove the collection array, slide down the latch button while gripping
the handle and pulling out the array. Wet array with a household cleaner and
brush its collector plates with the provided cleaning tool. Then rinse it under
warm running water. It is normal that the collection plates get tarnished after
operating for some time. The tarnish will not affect the effectiveness of the unit.
Dry the array thoroughly before inserting it back into the unit. If the array is still
wet, the unit detects the moisture and will run a fan-only drying cycle for two
hours before energizing the electrostatic filtering. The Indicator will light up
during the drying cycle.
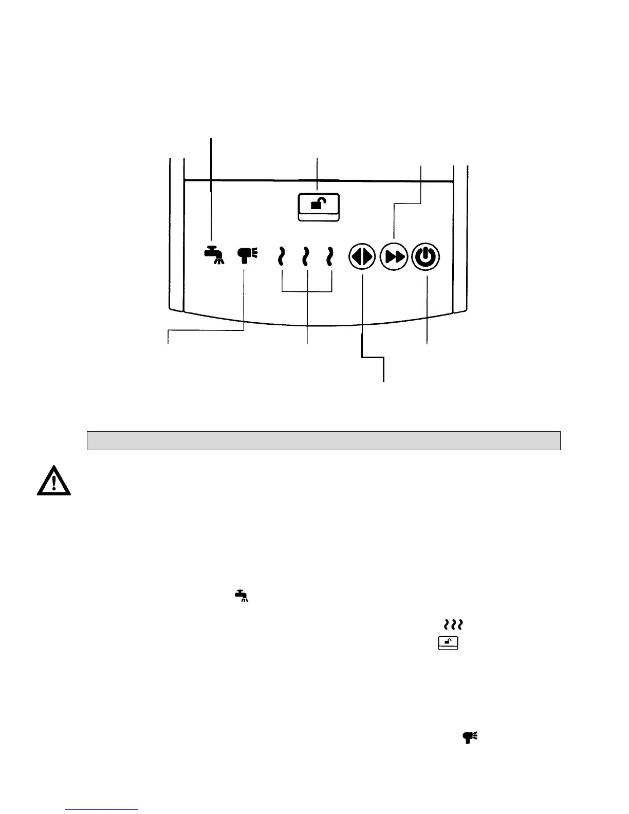
Light up to indicate the
collection Grid needs
cleaning
Slide down to unlatch the
collection grid for removal
Boost button:
Press to turn on the
Boost mode for 20
minutes. Press again
anytime to turn off
the Boost Mode
Lights up to indicate the unit is running
a 2-hour fan only drying cycle because
the collection grid is detected wet.
Power level indicators:
Silent – all indicators off
Low – one indicator on
Medium – two indicators on
High – three indicators on
Abnormal –
all indicator flashing
[see trouble shooting]
Power Level Button :
Press to cycle through silent, low,
Medium and high power levels
Power button

Related product manuals