EasyManua.ls Logo

CTM 360 Series - Page 92

CTM 360 Series
162 pages
Print Icon
To Next Page IconTo Next Page
To Next Page IconTo Next Page
To Previous Page IconTo Previous Page
To Previous Page IconTo Previous Page
Loading...
______________
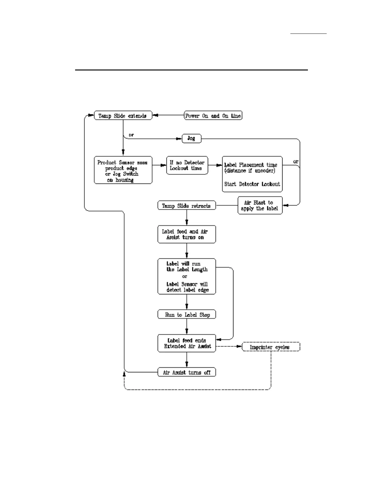
FLOWCHARTS
ITB TAMP SEQUENCE OF OPERATION
86

Related product manuals