EasyManua.ls Logo

CTM 360 Series - Page 93

CTM 360 Series
162 pages
Print Icon
To Next Page IconTo Next Page
To Next Page IconTo Next Page
To Previous Page IconTo Previous Page
To Previous Page IconTo Previous Page
Loading...
______________
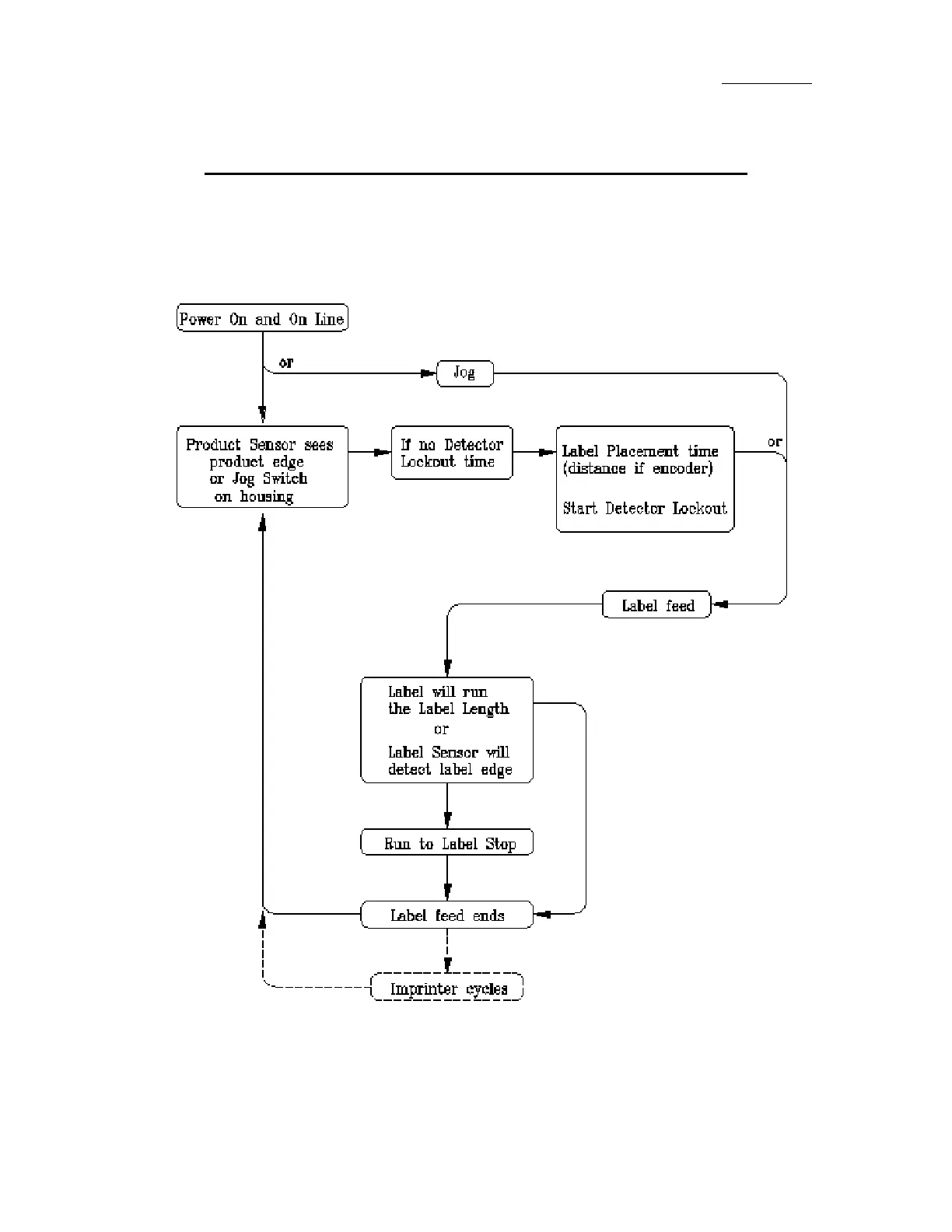
FLOWCHARTS
MERGE SEQUENCE OF OPERATION
87

Related product manuals