EasyManua.ls Logo

DAB 2 JET SET - Page 106

DAB 2 JET SET
Print Icon
To Next Page IconTo Next Page
To Next Page IconTo Next Page
To Previous Page IconTo Previous Page
To Previous Page IconTo Previous Page
Loading...

104
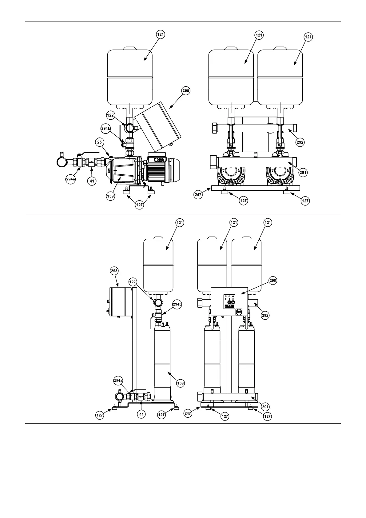
25 -

   138 -  294a/294b - 
 
41 - 

  139 -

 298 -
 
121 -    247 - 
122
-    291 - 

127 -
   292 - 

2 EURO 
2 PULSAR DRY 

Table of Contents

Related product manuals