EasyManua.ls Logo

DAB 2 JET SET - Page 39

DAB 2 JET SET
Print Icon
To Next Page IconTo Next Page
To Next Page IconTo Next Page
To Previous Page IconTo Previous Page
To Previous Page IconTo Previous Page
Loading...
NEDERLANDS
37
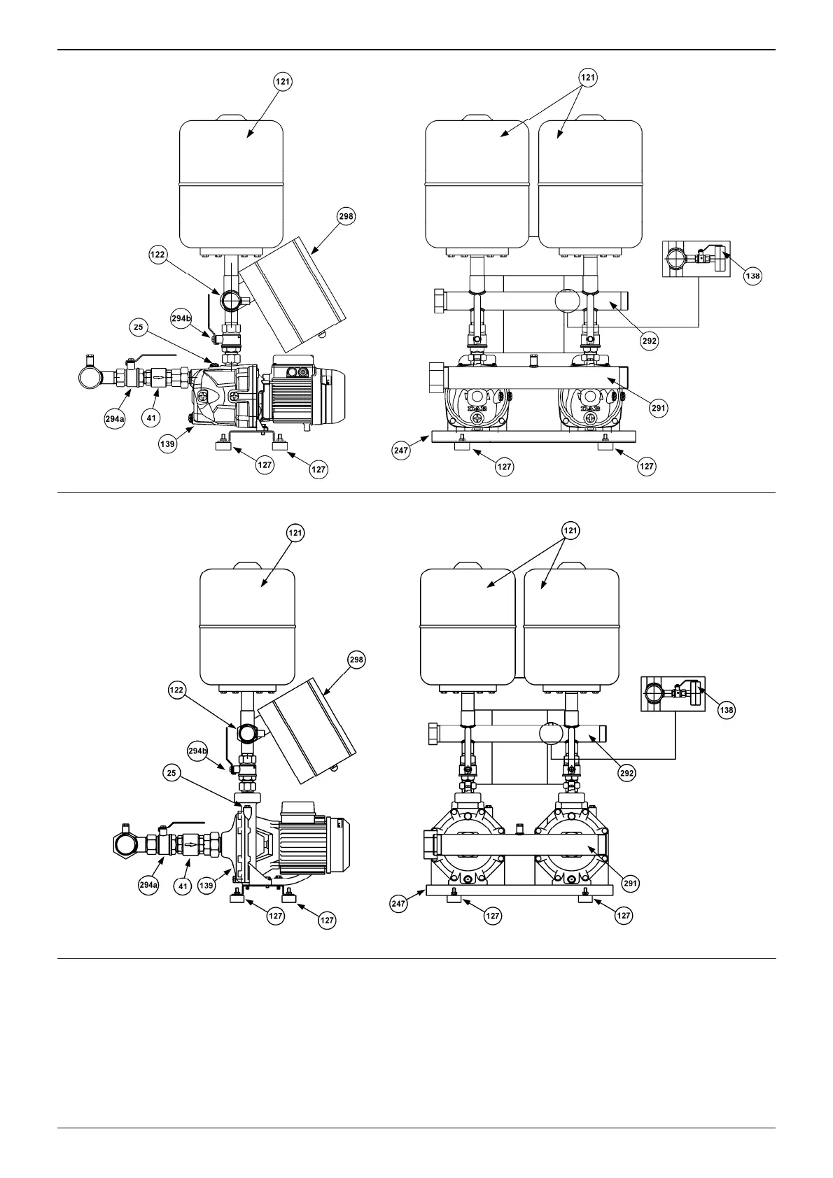
25 - Vuldop Elektropomp 138 - Manometer 294a/294b - Afsluitklep
41 - Terugslagklep 139 - Elektropomp 298 - Schakelpaneel
121 - Expansievat 247 - Basis
122 - Drukzender 291 - Aanzuigcollector
127 - Antitrilpoot 292 - Toevoercollector
GROEP 2 K
GROEP 2 JET

Table of Contents

Related product manuals