EasyManua.ls Logo

DAB 2 JET SET - Page 68

DAB 2 JET SET
Print Icon
To Next Page IconTo Next Page
To Next Page IconTo Next Page
To Previous Page IconTo Previous Page
To Previous Page IconTo Previous Page
Loading...
SVENSKA
66
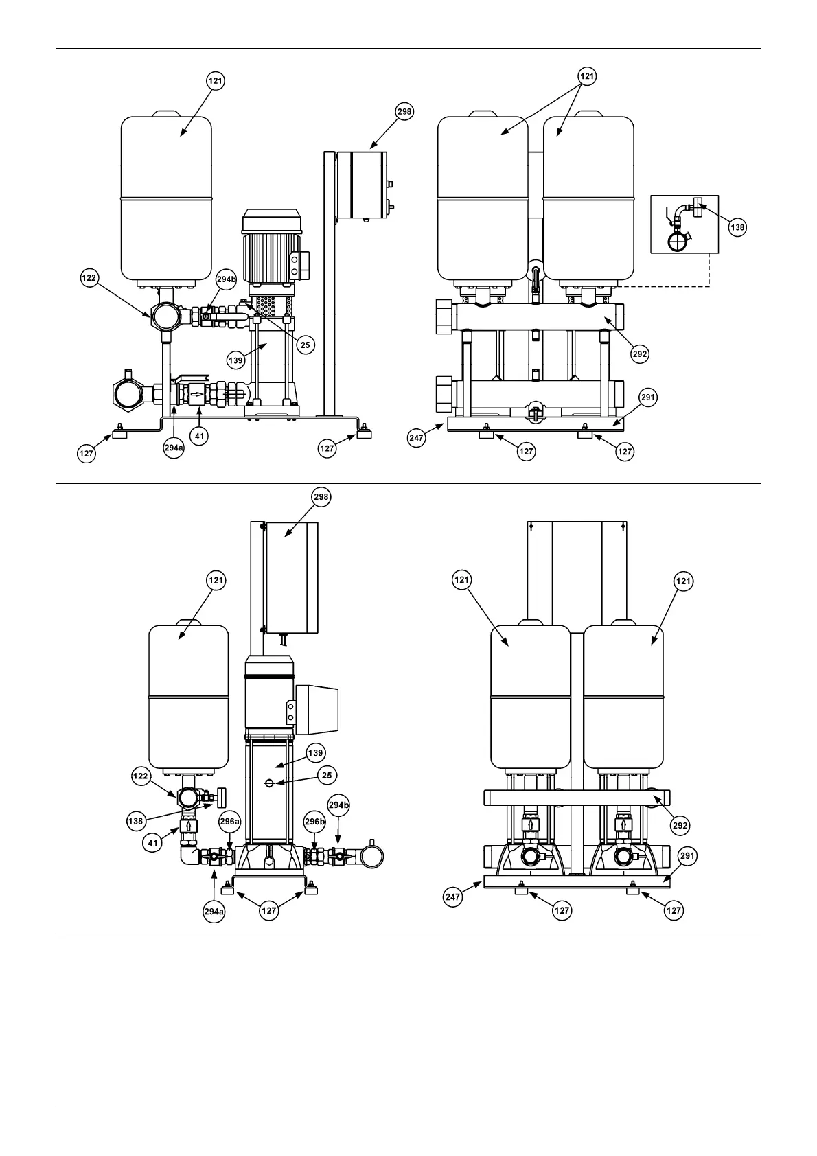
25 - Laddningslock elpump 138 - Manometer 294a/294b - On-offventil
41 - Backventil 139 - Elpump 296a/296b - Koppling i tre delar
121 - Vattenkammare 247 - Fundament 298 - Eltavla
122 - Trycksensor 291 - Kollektor insugning
127 - Vibrationshämmande stöd 292 - Kollektor inlopp
ENHET 2 KV
ENHET 2 KVC

Table of Contents

Related product manuals