EasyManua.ls Logo

DAB 2 JET SET - Page 77

DAB 2 JET SET
Print Icon
To Next Page IconTo Next Page
To Next Page IconTo Next Page
To Previous Page IconTo Previous Page
To Previous Page IconTo Previous Page
Loading...
PORTUGUÊS
75
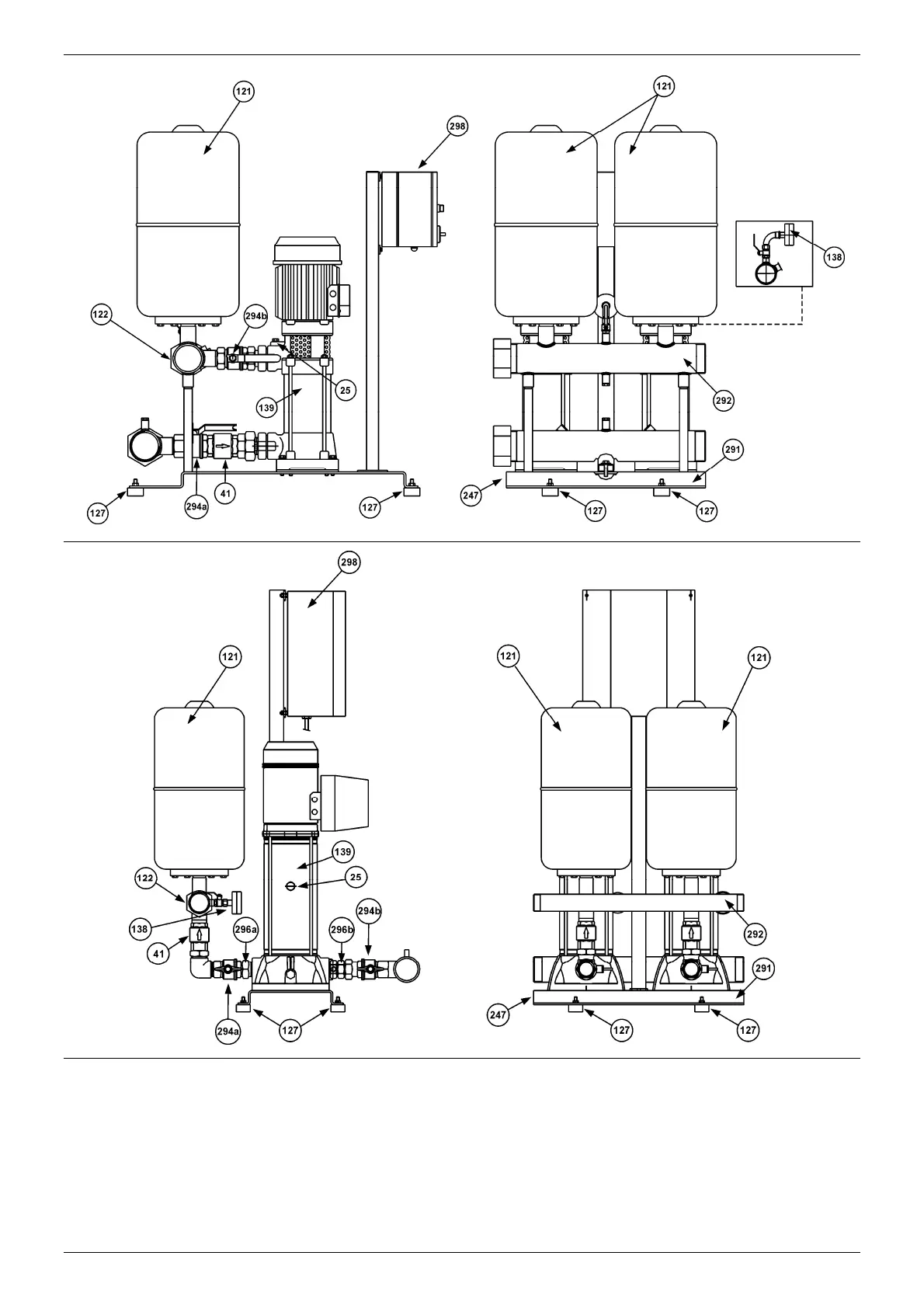
25 - Bujão de enchimento electrobomba 138 - Manómetro 294a/294b - Válvula de corte
41 - Válvula anti-retorno 139 - Electrobomba 296a/296b - União 3 peças
121 - Vaso de expansão 247 - Base 298 - Quadro eléctrico
122 - Transmissor de pressão 291 - Colector de aspiração
127 - Pé anti-vibração 292 - Colector de compressão
GRUPO 2 KV
GRUPO 2 KVC

Table of Contents

Related product manuals