EasyManua.ls Logo

DAB 2 JET SET - Page 86

DAB 2 JET SET
Print Icon
To Next Page IconTo Next Page
To Next Page IconTo Next Page
To Previous Page IconTo Previous Page
To Previous Page IconTo Previous Page
Loading...
MAGYAR
84
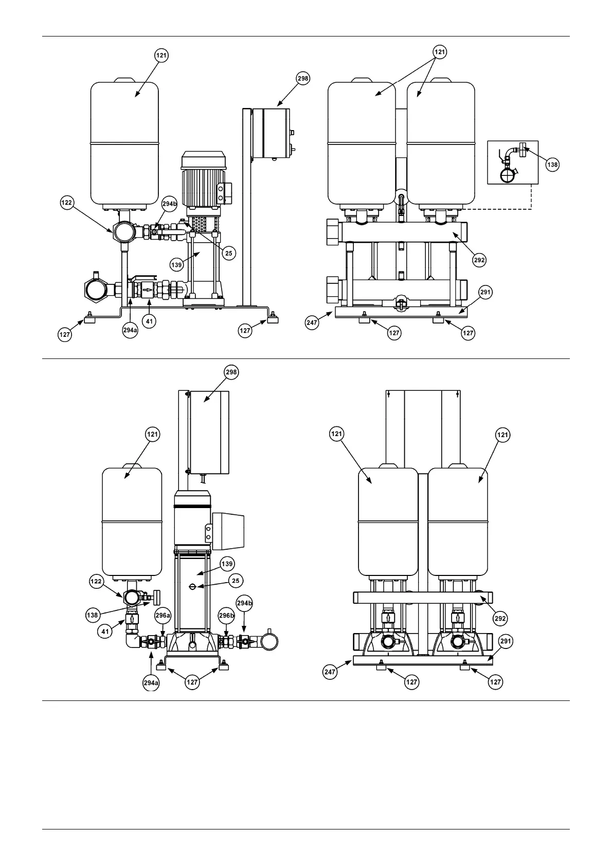
25 - A szivattyú feltölt dugója 138 - Nyomásmér 294a/294b - Zárószelep
41 - Egyirányú szelep 139 – Elektromos szivattyú
296a/296b – Háromdarabos csatlakozó
idom
121 – Tágulási tartály 247 - Alapszerkezet 298 – Elektromos kapcsolótábla
122 – Nyomás jeladó 291 - Szívókollektor
127 – Rezgéscsillapítós láb 292 - Nyomókollektor
2 KV EGYSÉG
2 KVC EGYSÉG

Table of Contents

Related product manuals