EasyManua.ls Logo

Daewoo KOG-8465 - Adjusting Door Seal Gap

Daewoo KOG-8465
37 pages
Print Icon
To Next Page IconTo Next Page
To Next Page IconTo Next Page
To Previous Page IconTo Previous Page
To Previous Page IconTo Previous Page
Loading...
19
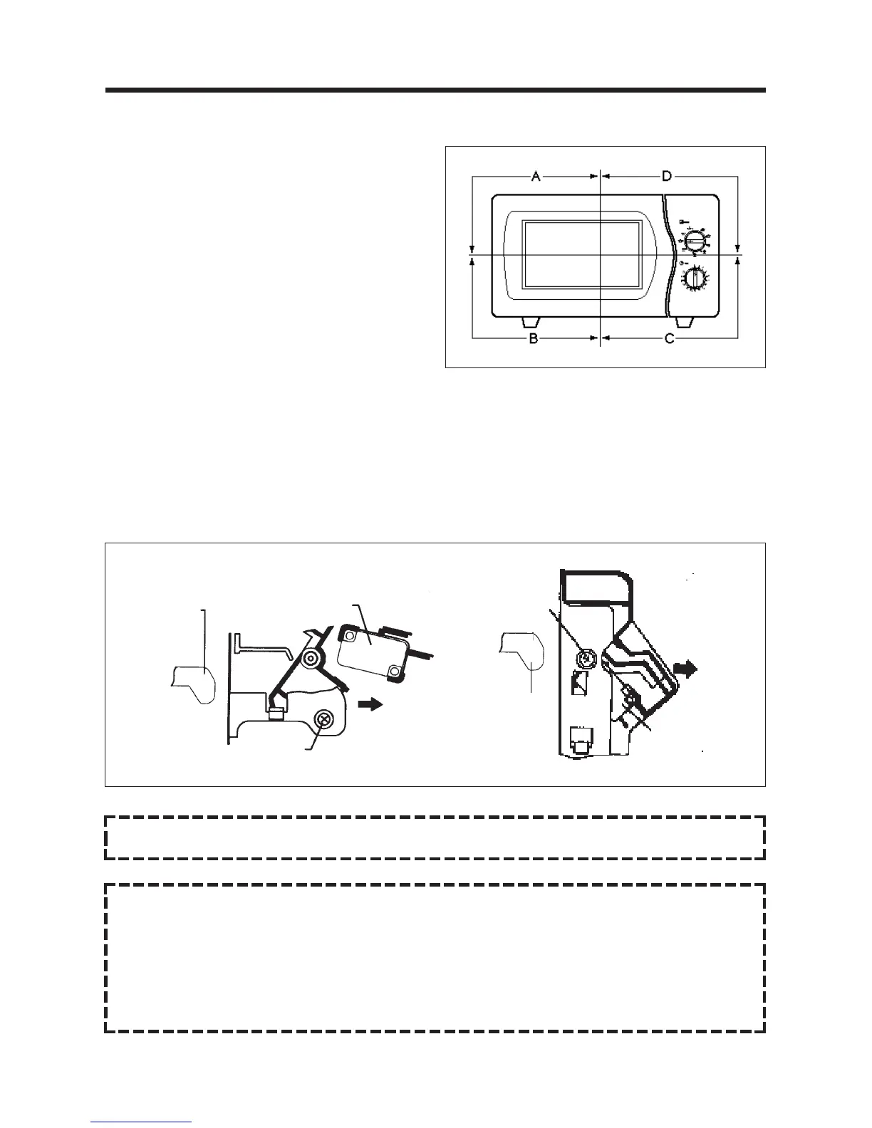
9. Method to reduce the gap between the door seal and the oven front surface.
(1) To reduce gap located on part ‘A’.
1) Loosen a Hex Bolt on top door hinge, then push
the door to contact the door seal to oven front
surface.
2) Tighten a Hex Bolt.
(2) To reduce gap located on part ‘B’.
1) Loosen a Hex Bolt on bottom hingle, then push
the door to contact the door seal to oven front
surface.
2) Tighten a Hex Bolt.
(3) To reduce gap located on part ‘C’
1) Remove the cabinet.
2) Loosen a screw on interlock switch assembly located bottom of oven body.
3) Draw the interlock switch assembly inward as possible to engage with hook on the door bottom.
4) Tighten a screw.
(4) To reduce gap located on part ‘D’.
1) Remove the cabinet.
2) Loosen a screw on interlock switch assembly located top of oven body.
3) and (4) are same as step (3).
NOTE : Small gap may be acceptable if the microwave leakage does not exceed 1mW/cm
2
.
NOTE : The door on a microwave oven is designed to act as an electronic seal preventing the leakage of
microwave energy from the oven cavity during the cook cycle, This function does not require that the
door be air-tight, moisture (condensation) - tight or light-tight. Therefore, the occasional appearance of
moisture, light or the sensing of gentle warm air movement around the oven door is not abnormal and
do not of themselves, indicate a leakage of microwave energy from the oven cavity. If such were the
case, your oven could not be equipped with a vent, the very purpose of which is to exhaust the vapor-
laden air from the oven cavity.
Door hook
(under)
Mounting screw
(bottom)
Interlock monitor
switch
Mounting screw (Top)
Primary
interlock switch
Door hook
(upper)

Related product manuals