EasyManua.ls Logo

Daewoo KOR-6C0B5S - Interlock Mechanism and Adjustment

Daewoo KOR-6C0B5S
33 pages
Print Icon
To Next Page IconTo Next Page
To Next Page IconTo Next Page
To Previous Page IconTo Previous Page
To Previous Page IconTo Previous Page
Loading...
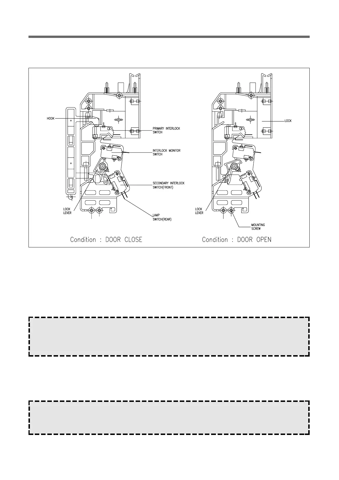
INTERLOCK MECHANISM AND ADJUSTMENT
The door lock mechanism is a device which has been specially designed to completely eliminate microwave radiation when
the door is opened during operation, and thus to perfectly prevent the danger resulting from the leakage of microwave.
(1) Primary interlock switch
When the door is closed, the hook locks the oven door. If the door is not closed properly, the oven will not operate.
When the door is closed, the hook pushes the button of the microswitch. Then the button of the primary interlock switch
bring it under ON condition.
(2) Secondary interlock switch and interlock monitor switch
When the door is closed, the hook pushes the lock lever downward. The lock lever presses the button of the interlock
monitor switch to bring it under NO condition and presses the button of the secondary interlock switch to bring it under
ON condition.
(3) Adjustment steps
a) Loosen the one mounting screws.
b) Adjust interlock switch assembly position.
c) Make sure that lock lever moves smoothly after adjustment is completed.
d) Tighten completely one mounting screws.
ADJUSTMENT :
Interlock monitor switch
When the door is closed, the interlock monitor switch should be changed (NO condition) before other switches are closed.
When the door is opened, the interlock monitor switch should be changed (NC condition) after other switches are opened.
NOTE :
Microwave emission test should be performed after adjusting interlock mechanism. If the microwave smission exceed
4mW/cm
2
, readjust interlock mechanism.
16

Related product manuals