EasyManua.ls Logo

Daewoo WP-895 - Page 38

Daewoo WP-895
102 pages
Print Icon
To Next Page IconTo Next Page
To Next Page IconTo Next Page
To Previous Page IconTo Previous Page
To Previous Page IconTo Previous Page
Loading...
- 37 -
Service manual WP 895/895F, CP885/885F, CP485F
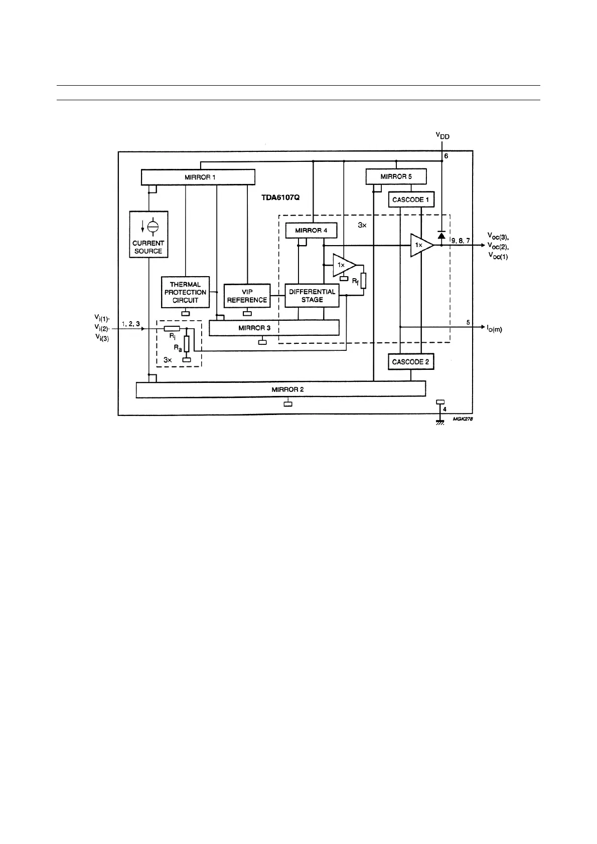
Block diagram TDA6107Q

Table of Contents