EasyManua.ls Logo

Daikin AGZ040E - Refrigerant Schematics

Daikin AGZ040E
112 pages
Print Icon
To Next Page IconTo Next Page
To Next Page IconTo Next Page
To Previous Page IconTo Previous Page
To Previous Page IconTo Previous Page
Loading...
refrIgeranT sChemaTICs
www.DaikinApplied.com 15 IOM 1206-7 • TRAILBLAZER
MODEL AGZ CHILLERS
refrIgeranT sChemaTICs
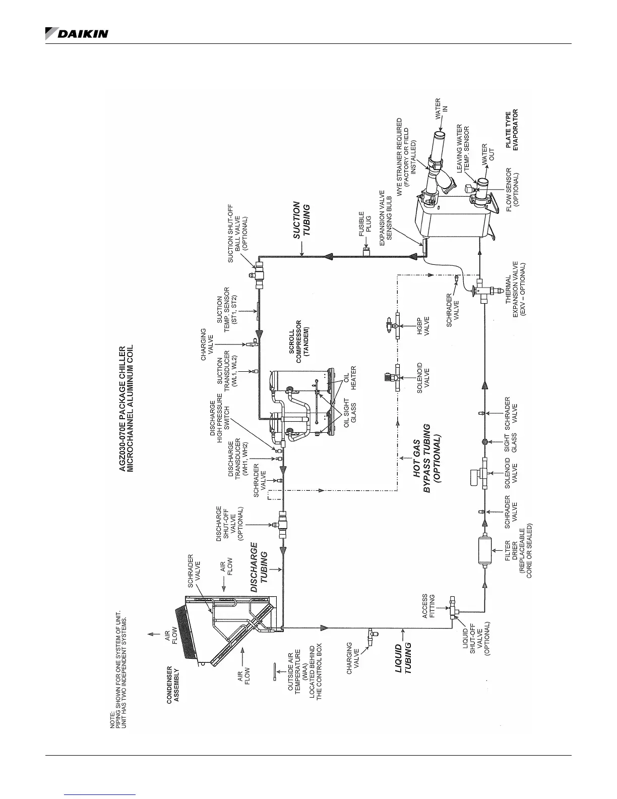
Figure 26: AGZ030-070E Package Chiller with Microchannel

Related product manuals