EasyManua.ls Logo

Daikin AGZ040E - Page 19

Daikin AGZ040E
112 pages
Print Icon
To Next Page IconTo Next Page
To Next Page IconTo Next Page
To Previous Page IconTo Previous Page
To Previous Page IconTo Previous Page
Loading...
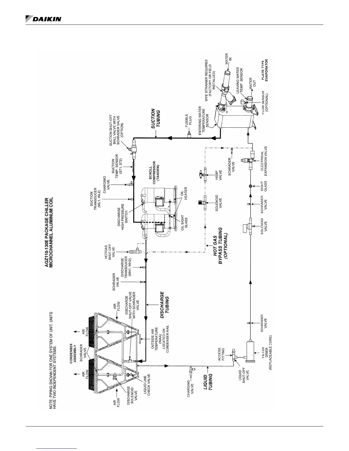
refrIgeranT sChemaTICs
www.DaikinApplied.com 17 IOM 1206-7 • TRAILBLAZER
MODEL AGZ CHILLERS
Figure 28: AGZ110-130E Package Chiller with Microchannel

Related product manuals