EasyManua.ls Logo

Daikin FT35DVM - Page 248

Daikin FT35DVM
268 pages
Print Icon
To Next Page IconTo Next Page
To Next Page IconTo Next Page
To Previous Page IconTo Previous Page
To Previous Page IconTo Previous Page
Loading...
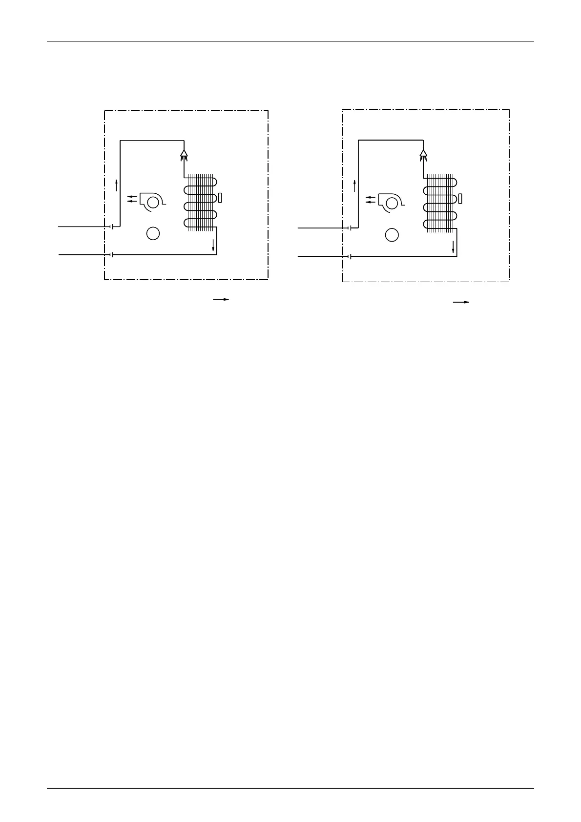
Si01-501 Piping Diagrams
Appendix 239
FT50DSG FT60DSG
(
15.9CuT
)
FIELD PIPING
FIELD PIPING
(
9.5CuT
)
CROSS FLOW FAN
FAN MOTOR
(
7.9CuT
)
INDOOR UNIT
(
12.7CuT
)
M
HEAT EXCHANGER
REFRIGERANT FLOW
ON HEAT
EXCH.
THERMISTOR
COOLING
C : 4D040083F
(
15.9CuT
)
FIELD PIPING
FIELD PIPING
(
6.4CuT
)
CROSS FLOW FAN
FAN MOTOR
(
7.9CuT
)
INDOOR UNIT
(
12.7CuT
)
M
HEAT EXCHANGER
REFRIGERANT FLOW
ON HEAT
EXCH.
THERMISTOR
COOLING
C : 4D040082J

Table of Contents

Related product manuals