EasyManua.ls Logo

Daikin FT35DVM - Piping Diagrams; Indoor Units

Daikin FT35DVM
268 pages
Print Icon
To Next Page IconTo Next Page
To Next Page IconTo Next Page
To Previous Page IconTo Previous Page
To Previous Page IconTo Previous Page
Loading...
Piping Diagrams Si01-501
238 Appendix
1. Piping Diagrams
1.1 Indoor Units
FT25DVM FT35DVM, FT09DV2S, FT25DSG
FT13DV2S, FT35DSG FT15DV2S
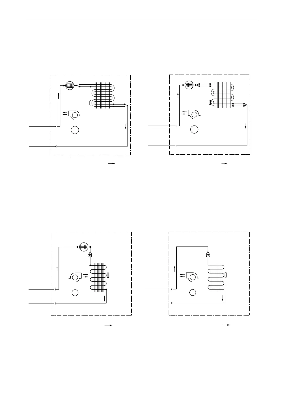
INDOOR UNIT
MAFFLER ASSY
HEAT EXCHANGER
7.0CuT
6.4CuT
THERMISTOR
6.4CuT
ON HEAT EXCH.
6.4CuT
7.9CuT
CROSSFLOW FAN
FIELD PIPING
(
6.4CuT
)
M
FAN MOTOR
9.5CuT
FIELD PIPING
(
12.7CuT
)
REFRIGERANT FLOW
COOLING
C: 4D047913A
FIELD PIPING
FIELD PIPING
(
6.4CuT
)
(
9.5CuT
)
7.9CuT
MAFFLER ASSY
CROSS FLOW FAN
FAN MOTOR
ON HEAT EXCH.
THERMISTOR
INDOOR UNIT
M
6.4CuT
7.0CuT
9.5CuT
HEAT EXCHANGER
REFRIGERANT FLOW
COOLING
6.4CuT
6.4CuT
C : 4D047912A
FIELD PIPING
FIELD PIPING
(12.7CuT)
(6.4CuT)
CROSS FLOW FAN
FAN MOTOR
(7.9CuT)
INDOOR UNIT
(12.7CuT)
M
HEAT EXCHANGER
REFRIGERANT FLOW
THERMISTOR
ON HEAT
EXCH.
COOLING
C: 4D040081J
FIELD PIPING
FIELD PIPING
( 12. 7CuT )
( 6. 4CuT )
( 7. 9CuT )
CROSS FLOW FAN
FAN MOTOR
INDOOR UNIT
( 9. 5CuT )
M
MAFFLER ASSY
HEAT EXCHANGER
REFRIGERANT FLOW
ON HEAT EXCH.
THERMISTOR
COOLING
4D048555A

Table of Contents

Related product manuals