EasyManua.ls Logo

Daikin FT35DVM - Outdoor Units

Daikin FT35DVM
268 pages
Print Icon
To Next Page IconTo Next Page
To Next Page IconTo Next Page
To Previous Page IconTo Previous Page
To Previous Page IconTo Previous Page
Loading...
Piping Diagrams Si01-501
240 Appendix
1.2 Outdoor Units
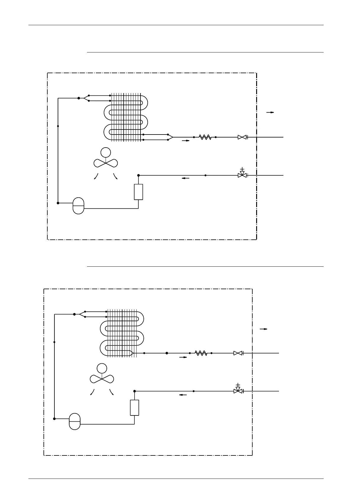
R25DV1
R35DV1
9.5CuT7.9CuT
COMPRESSOR
OUTDOOR UNIT
PROPELLER FAN
7.9CuT
7.9CuT
M
HEAT EXCHANGER
ACCUMULATOR
7.9CuT
7.9CuT
9.5CuT
7.9CuT 6.4CuT
9.5CuT
STOP VALVE
LIQUID
FIELD PIPING
FIELD PIPING
(
9.5CuT
)
(
6.4CuT
)
3D020878E
CAPILLARY TUBE
WITH SERVICE PORT
GAS STOP VALVE
REFRIGERANT FLOW
COOLING
9.5CuT7.9CuT
COMPRESSOR
OUTDOOR UNIT
PROPELLER FAN
7.9CuT
7.9CuT
M
HEAT EXCHANGER
ACCUMULATOR
7.9CuT
12.7CuT
7.9CuT
12.7CuT
WITH SERVICE PORT
6.4CuT
STOP VALVE
LIQUID
FIELD PIPING
FIELD PIPING
(
6.4CuT
)
(
12.7CuT
)
3D020877D
CAPILLARY TUBE
GAS STOP VALVE
REFRIGERANT FLOW
COOLING

Table of Contents

Related product manuals