EasyManua.ls Logo

Daikin FT35DVM - Page 250

Daikin FT35DVM
268 pages
Print Icon
To Next Page IconTo Next Page
To Next Page IconTo Next Page
To Previous Page IconTo Previous Page
To Previous Page IconTo Previous Page
Loading...
Si01-501 Piping Diagrams
Appendix 241
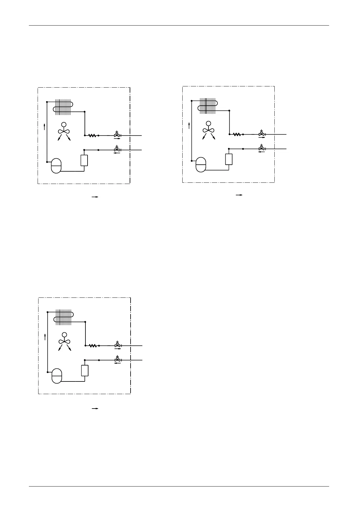
R09DV2S, R25DSG R13DV2S, R15DV2S, R35DSG
R50DSG
OUTDOOR UNIT
COMPRESSOR
PROPELLER FAN
HEAT EXCHANGER
ACCUMULATOR
M
CAPILLARY TUBE
WITH SERVICE PORT
REFRIGERANT FLOW
GAS STOP VALVE
COOLING
LIQUID STOP
VALVE
FIELD PIPING
FIELD PIPING
(
12.7CuT
)
(
6.4CuT
)
4D000892G
OUTDOOR UNIT
COMPRESSOR
PROPELLER FAN
HEAT EXCHANGER
ACCUMULATOR
M
CAPILLARY TUBE
WITH SERVICE PORT
REFRIGERANT FLOW
GAS STOP VALVE
COOLING
LIQUID STOP
VALVE
FIELD PIPING
FIELD PIPING
(
6.4CuT
)
(
12.7CuT
)
4D000695F
OUTDOOR UNIT
COMPRESSOR
PROPELLER FAN
HEAT EXCHANGER
ACCUMULATOR
M
CAPILLARY TUBE
WITH SERVICE PORT
REFRIGERANT FLOW
GAS STOP VALVE
COOLING
LIQUID STOP
VALVE
FIELD PIPING
FIELD PIPING
(
15.9CuT
)
(
6.4CuT
)
4D048564

Table of Contents

Related product manuals