EasyManua.ls Logo

Daikin FTKE25BVM - Page 275

Daikin FTKE25BVM
298 pages
Print Icon
To Next Page IconTo Next Page
To Next Page IconTo Next Page
To Previous Page IconTo Previous Page
To Previous Page IconTo Previous Page
Loading...
Piping Diagrams Si12-411A
264 Appendix
1.1.2 Duct Connected Type
1.1.3 Floor / Ceiling Suspended Dual Type
CDKD25/35/50/60CVM,
CDK(X)D25/35/50/60CVMA
CDK(X)S25/35/50/60CVMB,
CDXS25/35/50/60CVMA
FLK(X)S25/35/50/60BVMB,
FLXS25/35/50/60BVMA
FLK(X)25/35/50/60AVMA
CDXD25CMVMC
CDXD25CVMA
CDKD25CVMA
CDKD25CVM
CDXD60CMVMC
CDXD60CVMA
CDKD60CVMA
CDKD60CVM
CDXD35CMVMC
CDXD35CVMA
CDKD35CVMA
CDKD35CVM
FDXD50CMVMC
CDXD50CVMA
CDKD50CVMA
CDKD50CVM
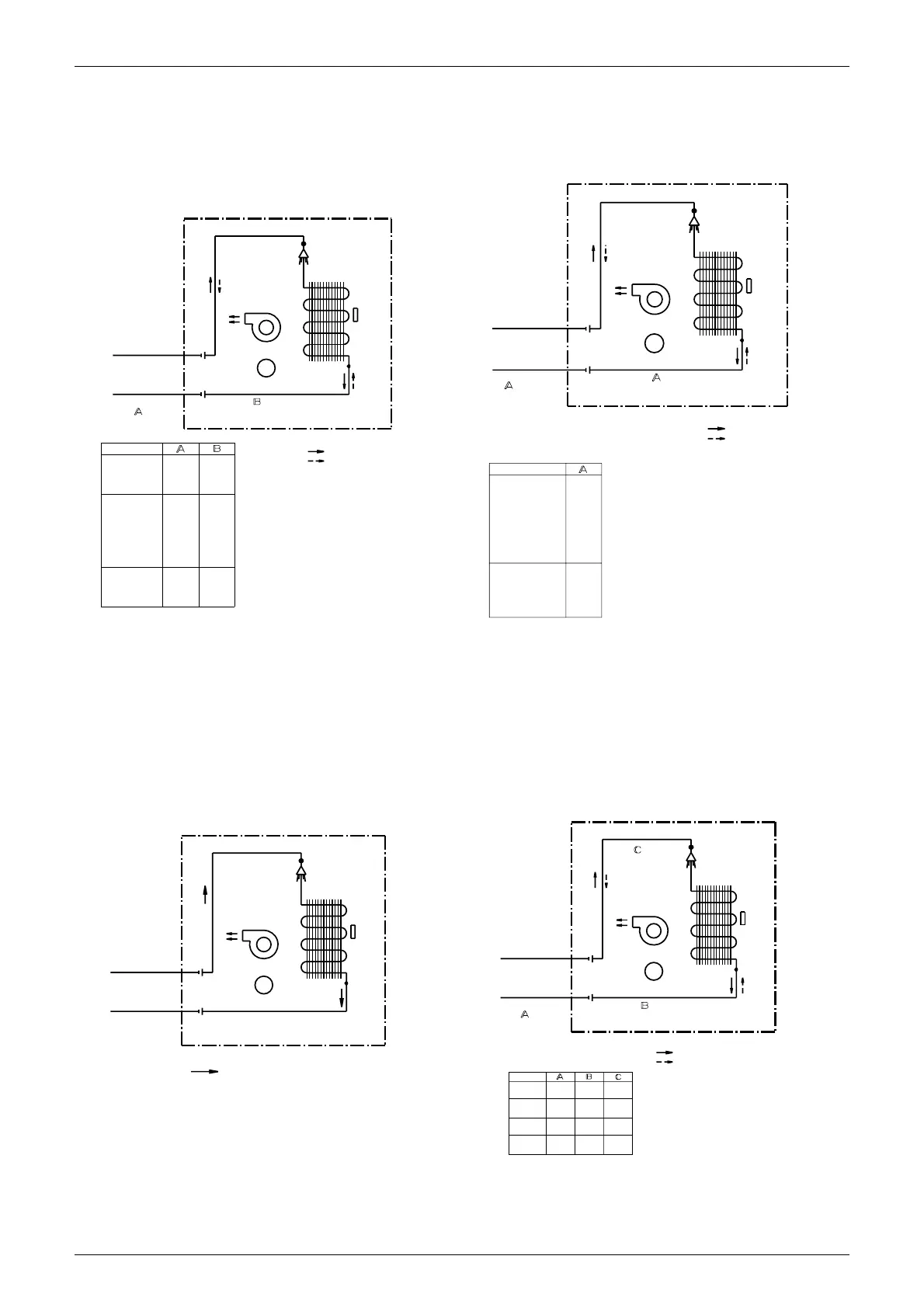
FIELD PIPING
FIELD PIPING
(6. 4CuT)
12. 7
15. 9
9. 5
12. 7
15. 9
9. 5
INDOOR UNIT
(6. 4CuT)
SIROCCO FAN
FAN MOTOR
M
( CuT)
REFRIGERANT FLOW
HEAT EXCHANGER
COOLING
HEATING
THERMISTOR
ON HEAT
EXCH.
( CuT)
4D045450
FIELD PIPING
FIELD PIPING
(
CuT
)
(
6.4CuT
)
INDOOR UNIT
SIROCCO FAN
(
6.4CuT
)
(
CuT
)
FAN MOTOR
M
REFRIGERANT FLOW
HEAT EXCHANGER
COOLING
HEATING
THERMISTOR
ON HEAT
EXCH.
CDKS35CVMB
CDXS25CVMA
CDXS35CVMA
FDXS25CVMB
FDXS35CVMB
FDKS25CVMB
FDKS35CVMB
CDXS35CVMB
CDKS25CVMB
CDXS25CVMB
CDKS60CVMB
CDXS50CVMA
CDXS60CVMA
CDXS60CVMB
CDKS50CVMB
CDXS50CVMB
12.7
9.5
4D045449B
FIELD PIPING
FIELD PIPING
(
9. 5CuT
)
(
6. 4CuT
)
REFRIGERANT FLOW
COOLING
INDOOR UNIT
(
6. 4CuT
)
SIROCCO FAN
(
9. 5CuT
)
FAN MOTOR
M
HEAT EXCHANGER
THERMISTOR
ON HEAT
EXCH.
4D034012D
FIELD PIPING
FIELD PIPING
FLX35-
FLK35-
FLX50-
FLK50-
FLK25-
FLK60-
FLX25-
FLX60-
(6. 4CuT)
12. 7
12. 7
15. 9
9. 5
12. 7
12. 7
9. 5
9. 5
9. 5
6. 4
6. 4
9. 5
INDOOR UNIT
SIROCCO FAN
FAN MOTOR
( CuT)
( CuT)
M
REFRIGERANT FLOW
HEATING
COOLING
HEAT EXCHANGER
THERMISTOR
ON HEAT
EXCH.
( CuT)
4D034013A

Table of Contents

Other manuals for Daikin FTKE25BVM

Related product manuals