EasyManua.ls Logo

Daikin REYQ72 - Page 91

Daikin REYQ72
273 pages
To Next Page IconTo Next Page
To Next Page IconTo Next Page
To Previous Page IconTo Previous Page
To Previous Page IconTo Previous Page
Loading...
Field Setting SiUS39-602
80 Test Operation
3.1.2 Wireless Remote Controller - Indoor Unit
BRC7C812
BRC4C82
BRC7E818
BRC7E83
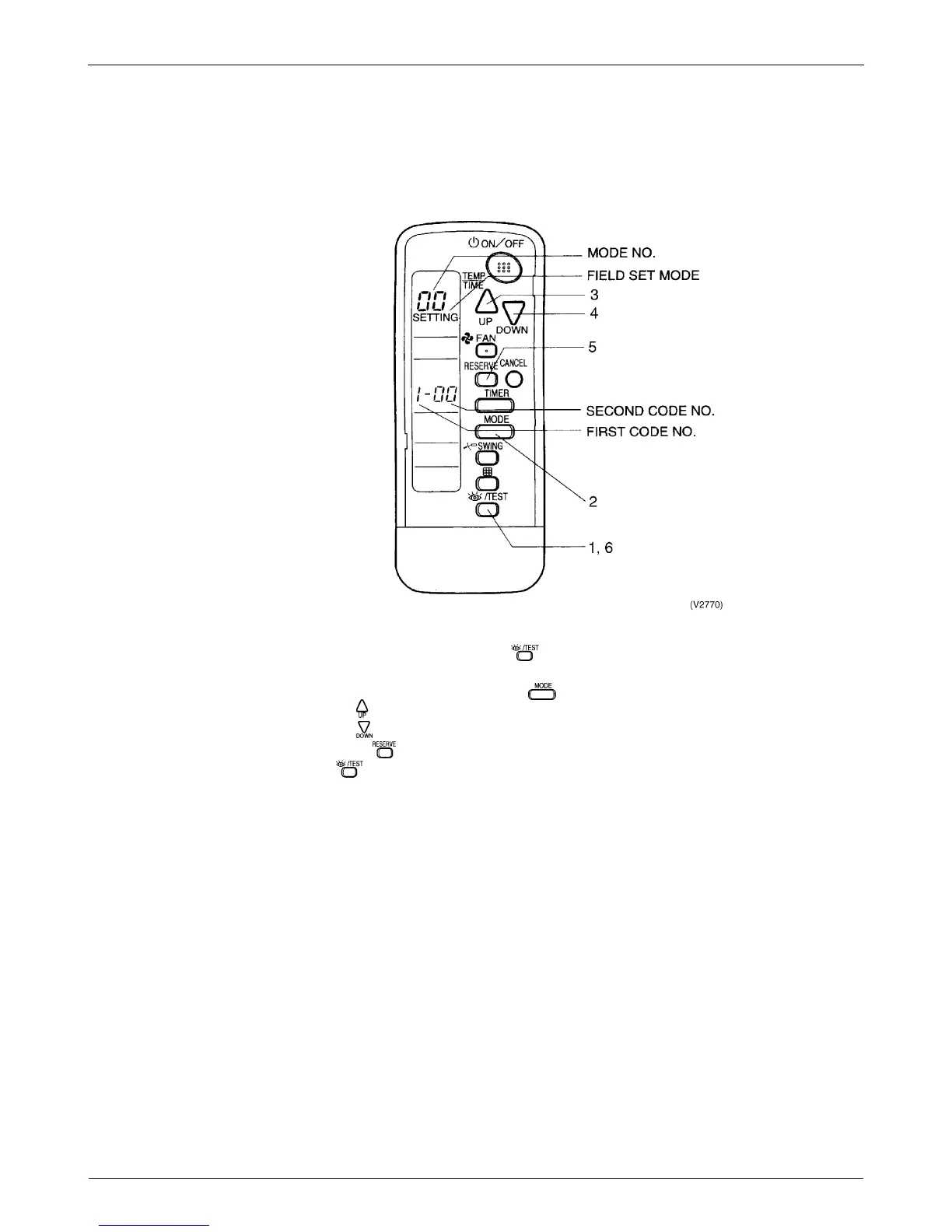
1. When in the normal mode, push the button for 4 seconds or more, and operation
then enters the “field set mode.”
2. Select the desired “mode No.” with the button.
3. Pushing the button, select the first code No.
4. Pushing the button, select the second code No.
5. Push the timer button and check the settings.
6. Push the button to return to the normal mode.
(Example)
When setting the filter sign time to “Filter Dirtiness-High” in all group unit setting, set the Mode
No. to “10”, Mode setting No. to “0” and setting position No. to “02”.

Table of Contents

Related product manuals