EasyManua.ls Logo

Daikin Super Multi Plus E-Series CTXG50EV1BW - Page 477

Daikin Super Multi Plus E-Series CTXG50EV1BW
492 pages
Print Icon
To Next Page IconTo Next Page
To Next Page IconTo Next Page
To Previous Page IconTo Previous Page
To Previous Page IconTo Previous Page
Loading...
SiBE18-821_C Piping Diagrams
Appendix 465
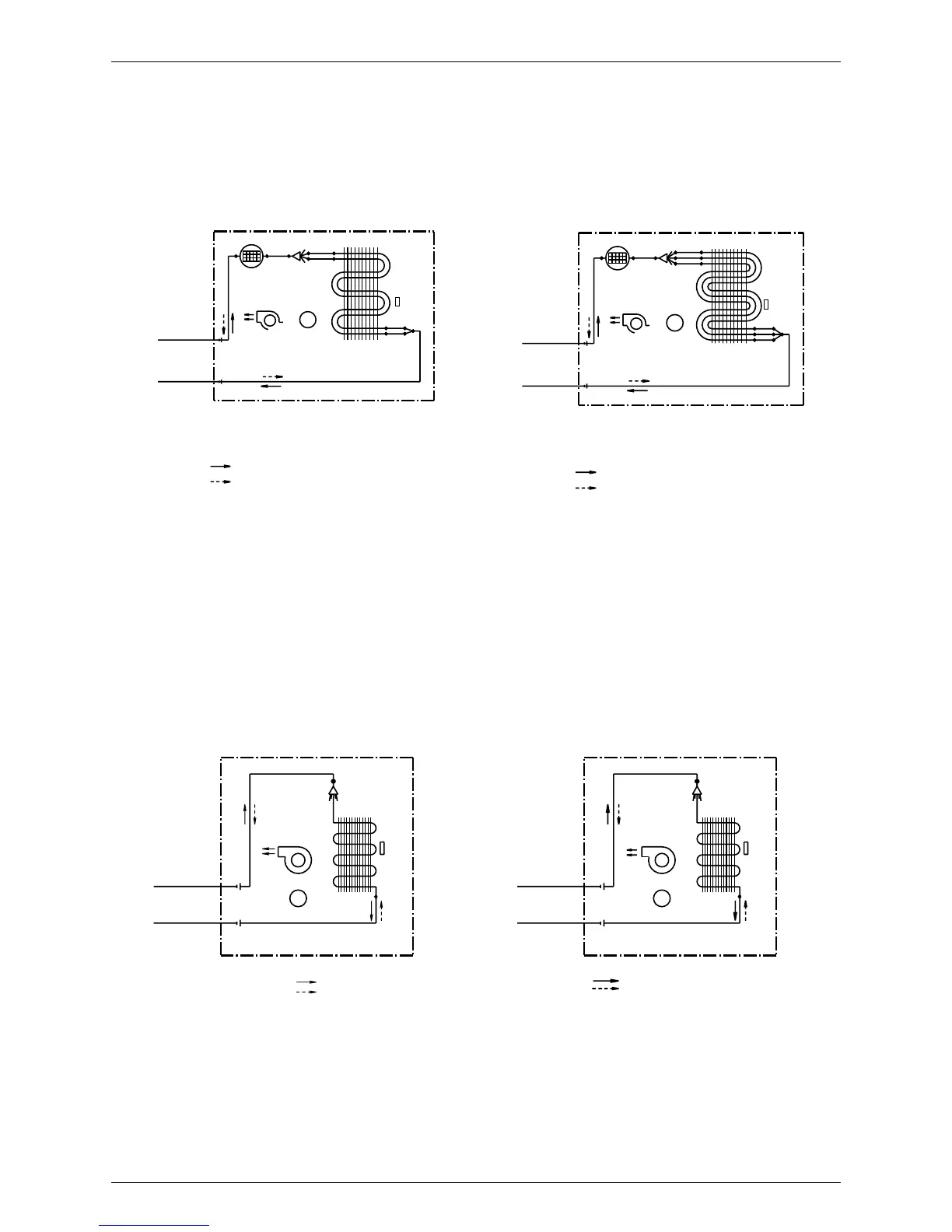
1.3.2 Floor Standing Type
1.3.3 Floor / Ceiling Suspended Dual Type
FVXS25/35FV1B FVXS50FV1B
MUFFLER ASSY
6.4CuT
6.4CuT
FIELD PIPING
TURBO FAN
FIELD PIPING
HEAT EXCHANGER
REFRIGERANT FLOW
6.4CuT
(6.4CuT)
FAN MOTOR
9.5CuT
M
6.4CuT
6.4CuT
7.0CuT
COOLING
(9.5CuT)
HEATING
INDOOR UNIT
THERMISTOR
ON HEAT EXCH.
4D056137A
FAN MOTOR
(6.4CuT)
7.0CuT
TURBO FAN
6.4CuT
6.4CuT
6.4CuT
COOLING
M
6.4CuT
6.4CuT
HEATING
HEAT EXCHANGER
(12.7CuT)
FIELD PIPING
6.4CuT
MUFFLER ASSY
INDOOR UNIT
6.4CuT
9.5CuT
REFRIGERANT FLOW
FIELD PIPING
THERMISTOR
ON HEAT EXCH.
4D056138A
FLXS25/35BAVMB FLXS50/60BAVMB
INDOOR UNIT
(
6.4CuT
)
SIROCCO FAN
(
9.5CuT
)
FAN MOTOR
M
HEAT EXCHANGER
REFRIGERANT FLOW
COOLING
HEATING
THERMISTOR
ON HEAT
EXCH.
FIELD PIPING
(
6.4CuT
)
FIELD PIPING
(
9.5CuT
)
4D048722B
REFRIGERANT FLOW
HEATING
COOLING
INDOOR UNIT
(
9.5CuT
)
SIROCCO FAN
(
12.7CuT
)
FAN MOTOR
M
HEAT EXCHANGER
THERMISTOR
ON HEAT
EXCH.
FIELD PIPING
(
6.4CuT
)
FIELD PIPING
(
12.7CuT
)
4D048724B

Table of Contents

Related product manuals