EasyManua.ls Logo

Dalton MOBILITY 800 - Distributor Gear Box

Default Icon
46 pages
Print Icon
To Next Page IconTo Next Page
To Next Page IconTo Next Page
To Previous Page IconTo Previous Page
To Previous Page IconTo Previous Page
Loading...
29
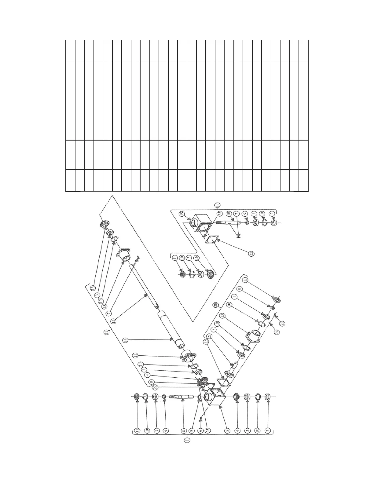
4441174, GEAR BOX SET
ITEM PART # DESCRIPTION QTY
1 1003735 BOX ASSEMBLY, RH 1
2 1000938 PLUG, SOFT 2
3 1000932 BEARING 8
4 1002426 GEAR 2
5 1000936 HOUSING, RH 1
6 1006856 OIL PLUG 2
7 1000935 KEY, WOODRUFF 2
8 1003730 SHAFT, TAPERED 1
9 1000933 RETAINER RING 5
10 1000931 RETAINER RING 8
11 1000930 SEAL 3
12 4441653 TUBE ASSEMBLY 1
13 1000944 HOUSING BARREL 3
14 4441654 CONNECTING TUBE 1
15 4441655 CONNECTING SHAFT 1
16 1000945 PINION GEAR 2
17 1003736 BOX ASSEMBLY, LH 1
18 1003730 SHAFT, TAPERED 1
19 1000947 HOUSING, LH 1
20 1001205 BARREL ASSEMBLY 1
21 1000948 SHAFT & GEAR ASSEMBLY 1
22 1000940 GASKET 3
23 1000834 HHCS, 5/16-18 x 3/4” 12
24 1000836 LOCK WASHER, 5/16” 12
25 1003742 45 DEGREE GREASE ZERK 2