EasyManua.ls Logo

Danfoss ECL Comfort 296 - Page 125

Danfoss ECL Comfort 296
199 pages
Print Icon
To Next Page IconTo Next Page
To Next Page IconTo Next Page
To Previous Page IconTo Previous Page
To Previous Page IconTo Previous Page
Loading...
MENU>Settings>Optimization
Totalstop
1x021
Decidewhetheryouwantatotalstopduringthesavingtemperatureperiod.
SeeAppendix“ParameterIDoverview
OFF:
Nototalstop.Thedesiredflowtemperatureisreduced
accordingto:
desiredroomtemperatureinsavingmode
autosaving
ON:
Thedesiredflowtemperatureisloweredtothesetvalue
in‘Frostpr.Thecirculationpumpisstoppedbutfrost
protectionisstillactive,see'PfrostT'.
Totalstop=OFF
Totalstop=ON
X
=
Time
Y
=
Desiredflowtemperature
=
Comforttemperature
=
Savingtemperature
=
Frostprotection
Themin.flowtemperaturelimitation('Temp.min.')isoverruledwhen
'Totalstop'isON.
MENU>Settings>Optimization
Pre-stop(optimizedstoptime)
1x026
Disabletheoptimizedstoptime.
SeeAppendix“ParameterIDoverview
OFF:
Theoptimizedstoptimeisdisabled.
ON:
Theoptimizedstoptimeisenabled.
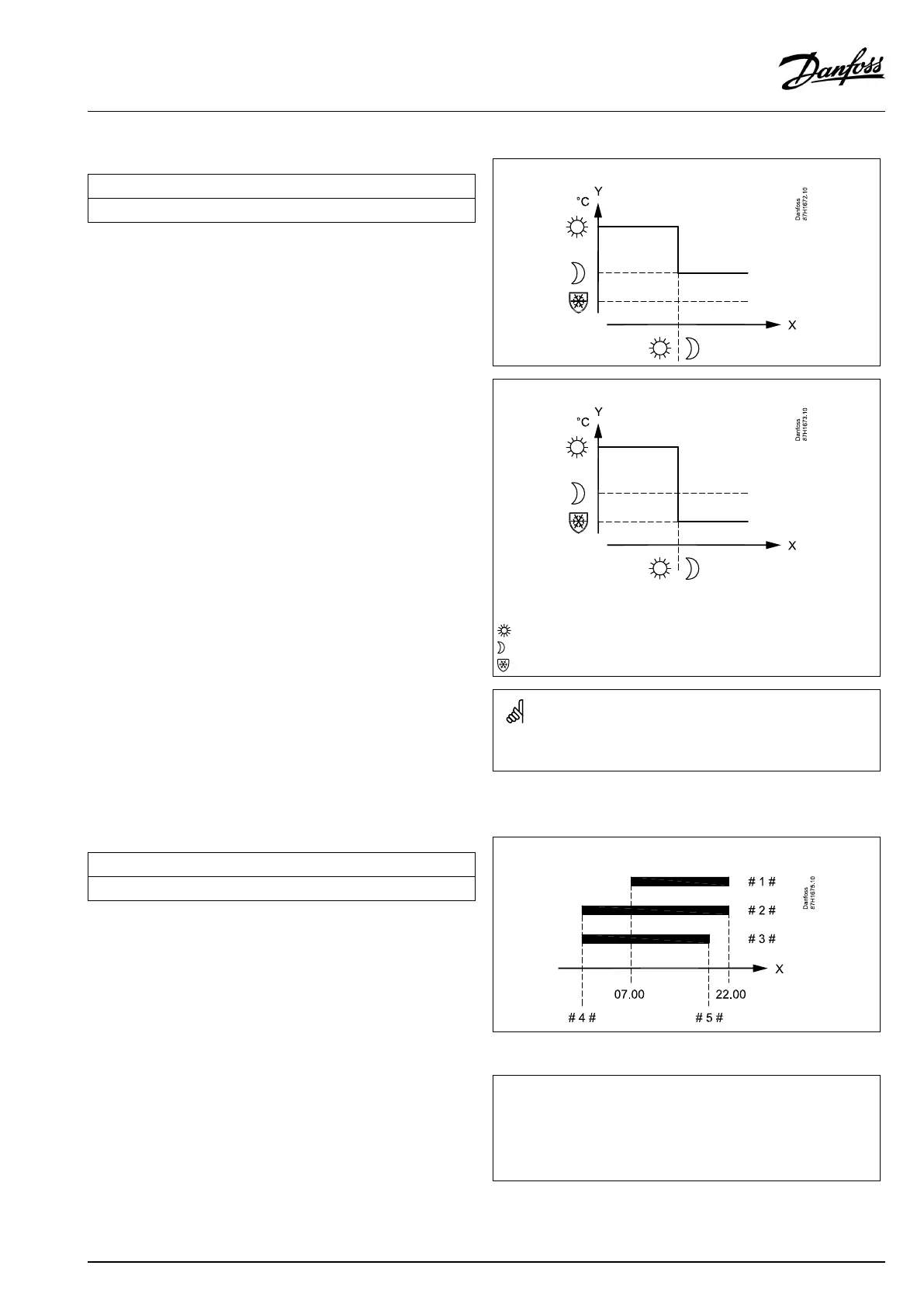
Example:OptimizationofComfortfrom07:00-22:00
X
=
Time
#1#
=
Schedule
#2#
=
Prestop=OFF
#3#
=
Prestop=ON
#4#
=
Optimizedstart
#5#
=
Optimizedstop
VI.GU.L2.02
©Danfoss|2017.09|125
OperatingGuideECLComfort210/296/310,applicationA275/A375

Other manuals for Danfoss ECL Comfort 296

Related product manuals