EasyManua.ls Logo

Danfoss ECL Comfort 296 - Page 74

Danfoss ECL Comfort 296
199 pages
Print Icon
To Next Page IconTo Next Page
To Next Page IconTo Next Page
To Previous Page IconTo Previous Page
To Previous Page IconTo Previous Page
Loading...
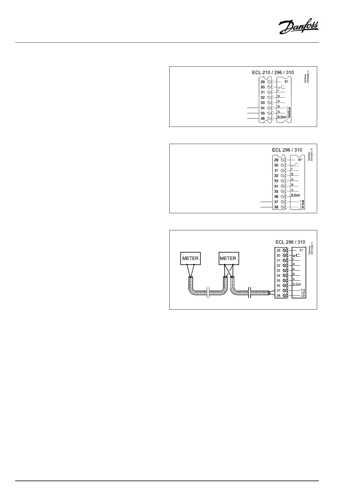
2.5.8Electricalconnections,communication
Electricalconnections,Modbus
Electricalconnections,M-bus
Example,M-busconnections
74|©Danfoss|2017.09
VI.GU.L2.02
OperatingGuideECLComfort210/296/310,applicationA275/A375

Other manuals for Danfoss ECL Comfort 296

Related product manuals