EasyManua.ls Logo

Danfoss ECL Comfort A368 - Page 26

Danfoss ECL Comfort A368
163 pages
Print Icon
To Next Page IconTo Next Page
To Next Page IconTo Next Page
To Previous Page IconTo Previous Page
To Previous Page IconTo Previous Page
Loading...
OperatingGuideECLComfort310,applicationA368
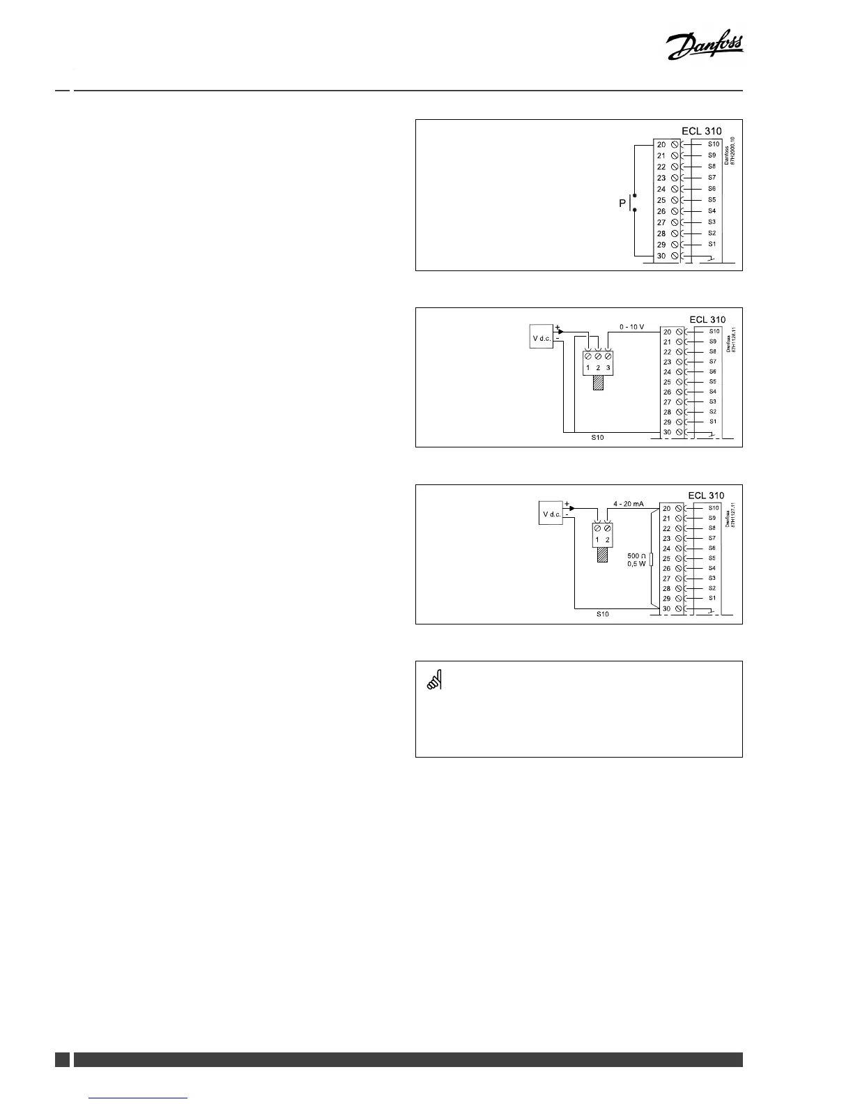
Connectionofapressureswitch
P
Connectionofpressuretransmitterwith0-10Voutput

Connectionofpressuretransmitterwith4-20mAoutput











Other manuals for Danfoss ECL Comfort A368

Related product manuals