EasyManua.ls Logo

Danfoss ECL Comfort A368 - Before You Start; Installation

Danfoss ECL Comfort A368
163 pages
Print Icon
To Next Page IconTo Next Page
To Next Page IconTo Next Page
To Previous Page IconTo Previous Page
To Previous Page IconTo Previous Page
Loading...
OperatingGuideECLComfort310,applicationA368
2.0Installation
2.1Beforeyoustart
A368



Thebasicprinciplesforaheatingcircuit

Heating(circuit1):














































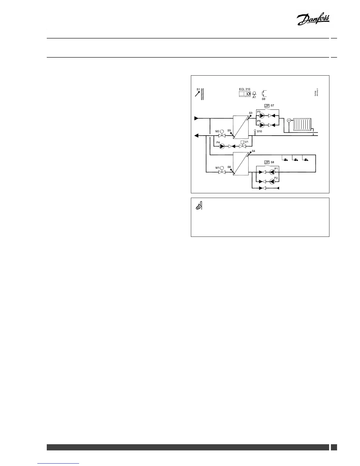
TypicalA368.1application:



Listofcomponents:
ECL310
ElectroniccontrollerECLComfort310
S1
Outdoortemperaturesensor
S3
Flowtemperaturesensor,circuit1
S4
DHWowtemperaturesensor,circuit2
S5
(Optional)Returntemperaturesensor,circuit1
S6
(Optional)DHWreturntemperaturesensor,circuit2
S7
Differentialpressureswitch,circuit1
S8
Differentialpressureswitch,circuit2
S9
Alarminput
S10
(Optional)Pressuretransmitterorpressureswitch,circuit1
P1
Circulationpump,DHW,circuit2
P2
Circulationpump,DHW,circuit2
P3
Circulationpump,heating,circuit1
P4
Rellwaterpump,circuit1
P5
Circulationpump,heating,circuit1
M1
Motorizedcontrolvalve,circuit2
M2
Motorizedcontrolvalve,circuit1
V1
ON/OFFvalve,circuit1,rellwatervalve
A1
Alarm




Other manuals for Danfoss ECL Comfort A368

Related product manuals